Запчасти Case IH TITAN 3520 (02-050) - CRANKSHAFT (01) - ENGINE

Схема запчастей Case IH TITAN 3520 - (02-050) - CRANKSHAFT (01) - ENGINE
25
12
3
34
19
10
6
16
14
18
28
20
11
26
27
1
11
11
35
15
23
30
17
21
2
22
7
4
36
11
9
29
8
5a
12
5
24
13
FIT
1:1
100%

Артикул

Название

Примечание

Количество

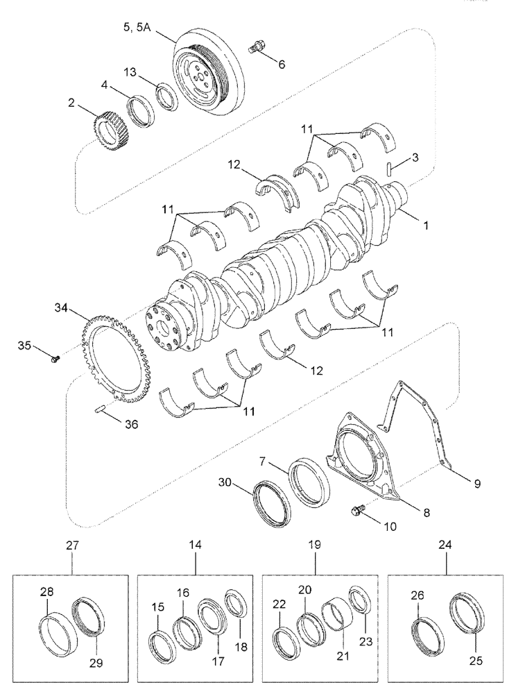
1

87356215

CRANKSHAFT

With Speed Indicator Ring

1шт.

1

87356215R

REMAN-CRANKSHAFT

TITAN 3020, TITAN 3520, Both FLOATER, With Speed Indicator Ring (8/06-1/12)

1шт.

1

87356215C

CORE-CRANKSHAFT

Return Number

1шт.

2

J918776

GEAR

1шт.

3

J904483

PIN,6.01mm OD x 8mm L

1шт.

4

NSS

NOT SOLD SEPARAT

SEAL

1шт.

Order A77790, Ref. 14

1шт.

5

87357611

DAMPER

1шт.

5a

87422144

PULLEY,199.42mm OD

Crankshaft

1шт.

6

J914118

FLANGE BOLT,Hex, M14 x 1.5 x 60mm, Cl 12.9

M14 X 35

1шт.

7

NSS

NOT SOLD SEPARAT

SEAL

1шт.

Order J934486, Ref. 24

1шт.

8

J933384

REAR COVER

1шт.

9

87447962

GASKET,0.8mm Thk

Rear Cover

1шт.

10

J991306

BOLT

M6 X 16, 10.9

8шт.

11

J945930

BEARING SET

Main, Upper and Lower Set, Standard

6шт.

11

J945931

BEARING SET

Main, Upper And Lower Set, 0.25 mm Undersize

6шт.

11

J945932

BEARING SET

Main, Upper And Lower Set, 0.50 mm Undersize

6шт.

11

J945933

BEARING SET

Main, Upper And Lower Set, 0.75 mm Undersize

6шт.

11

J945934

BEARING SET

Main, Upper And Lower Set, 1.0 mm Undersize

6шт.

12

J945929

THRUST BEARING

Main Thrust, Upper And Lower Set, Standard

1шт.

12

J945922

THRUST BEARING

Main Thrust, Upper and Lower Set, 0.25 mm Undersize

1шт.

12

J945923

THRUST BEARING

Main Thrust, Upper and Lower Set, 0.50 mm Undersize

1шт.

12

J945924

THRUST BEARING

Main Thrust, Upper and Lower Set, 0.75 mm Undersize

1шт.

12

J945925

THRUST BEARING

Main Thrust, Upper and Lower Set, 1.0 mm Undersize

1шт.

12

J945926

THRUST BEARING

Main Thrust, Upper and Lower Set, Standard JourNal Diameter, 0.25 mm Oversize Thrust Width

1шт.

12

J945927

THRUST BEARING

Main Thrust, Upper and Lower Set, Standard Journal Diameter, 0.50 mm Oversize Thrust Width

1шт.

12

J945928

THRUST BEARING

Main Thrust, Upper and Lower Set, 0.50 mm Undersize Journal Diameter, 0.50 mm Oversize Thrust Width

1шт.

13

J918113

SHIELD,74.73mm ID x 91.7mm OD x 6mm Thk

(ORDER A777790, REF. 14)

1шт.

14

A77790

SEAL KIT

Oil, Crankshaft Front

1шт.

Includes Refs. 15 - 18

1шт.

15

NSS

NOT SOLD SEPARAT

SEAL

1шт.

16

NSS

NOT SOLD SEPARAT

TOOL

1шт.

17

NSS

NOT SOLD SEPARAT

TOOL

1шт.

18

J918113

SHIELD,74.73mm ID x 91.7mm OD x 6mm Thk

1шт.

19

A77808

SERVICE KIT

Wear Sleeve, Crankshaft Front

1шт.

Includes Refs. 20 - 23

1шт.

20

NSS

NOT SOLD SEPARAT

SLEEVE

1шт.

21

NSS

NOT SOLD SEPARAT

TOOL

1шт.

22

NSS

NOT SOLD SEPARAT

SEAL

1шт.

23

J924987

SHIELD,77.14mm ID x 89.38mm OD x 6.35mm Thk

1шт.

24

J934486

SERVICE KIT

CRANKSHAFT, REAR

1шт.

Includes Refs. 24A, 25, 26

1шт.

24a

NSS

NOT SOLD SEPARAT

KIT, SERVICE

1шт.

25

NSS

NOT SOLD SEPARAT

TOOL

1шт.

26

NSS

NOT SOLD SEPARAT

SEAL

1шт.

27

A77810

SERVICE KIT

Wear Sleeve, Crankshaft Rear

1шт.

Includes Refs. 28, 29

1шт.

28

NSS

NOT SOLD SEPARAT

SLEEVE

1шт.

29

NSS

NOT SOLD SEPARAT

SEAL

1шт.

30

J933262

OIL SEAL,130mm ID x 150.44mm OD x 14.73mm Thk

DUST

1шт.

34

87335719

RING

SPEED INDICATOR

1шт.

35

87335729

BOLT

M6 x 1 x 12

4шт.

36

J329899

DOWEL,5.01mm OD x 10mm L

PIN

1шт.

Выбрано товаров: 54