Запчасти Case IH TITAN 3520 (08-005) - MOUNTING GROUP, CONTROL, RAVEN (06) - ELECTRICAL

Схема запчастей Case IH TITAN 3520 - (08-005) - MOUNTING GROUP, CONTROL, RAVEN (06) - ELECTRICAL
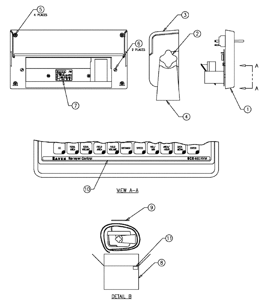
1
3
10
6
9
11
4
8
2
5
7
FIT
1:1
100%

Артикул

Название

Примечание

Количество

1

280149A1

SUPPORT

monitor mount

1шт.

2

280150A1

SUPPORT

monitor mount

1шт.

3

319870A1

KNOB

ADJUSTMENT

1шт.

4

11106231

BOLT,Hex, M10 x 1.5 x 25mm, Cl 10.9

2шт.

5

120100

BOLT,M6 x 20mm, Cl 8.8

2шт.

6

353308

NUT,M6 x 1.0, Cl 8

2шт.

7

100037

LOCK NUT,M10 x 1.5, Cl 8

2шт.

8

893-11010

LOCK WASHER,Ext Tooth, M10

1шт.

9

86588450

WASHER,6.6mm ID x 12mm OD x 1.6mm Thk

2шт.

10

86639325

WASHER,10.8mm ID x 24.5mm OD x 3mm Thk

2шт.

11

BN324716

BASE PLATE

ASSY, MTG BRKT

1шт.

Выбрано товаров: 11