Запчасти Case IH TITAN 3520 (10-010) - REMOTE RELOAD GROUP Options

Схема запчастей Case IH TITAN 3520 - (10-010) - REMOTE RELOAD GROUP Options
1
5
7
4
6
3
2
FIT
1:1
100%

Артикул

Название

Примечание

Количество

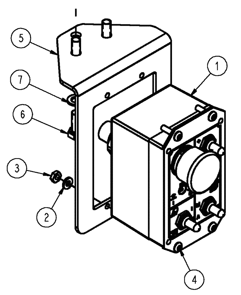
1

BN325083

STATION RELOAD CTR, SEE FIG. 10-018

1шт.

2

BN310265

WASHER

10, Stainless Steel

4шт.

3

BN310266

BHD LOCK NUT,#10-24, Nylon, Stainless Steel

4шт.

4

BN311631

BOLT,#10 - 24 x 3/4", SST

10-24 x .75, BSH, Stainless Steel

4шт.

5

87266150

SUPPORT

Mount, Remote Station

1шт.

6

120104

BOLT,Hex, M8 x 1.25 x 20mm, Cl 8.8

3шт.

7

86624184

WASHER,9mm ID x 16mm OD x 1.6mm Thk

3шт.

Выбрано товаров: 7