Запчасти Case IH TITAN 4520 (02-047) - CYLINDER BLOCK - ENGINE BLOCK HEATERS (01) - ENGINE

Схема запчастей Case IH TITAN 4520 - (02-047) - CYLINDER BLOCK - ENGINE BLOCK HEATERS (01) - ENGINE
52
3
36
4
12
5
31
4
17
9
33
4
8
7
13
55
34
4
37
54
15
14
22
6
20
19
11
18
30
10
2
16
53
27
5
35
5
1
14
FIT
1:1
100%

Артикул

Название

Примечание

Количество

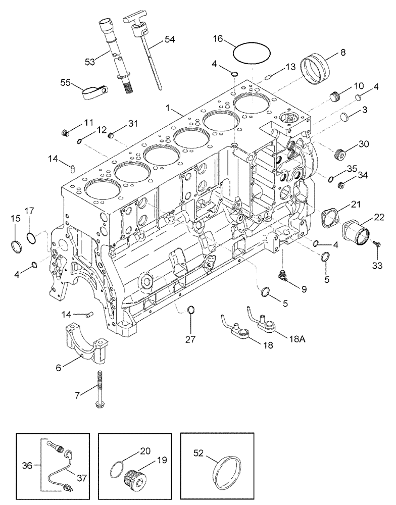
1

87602635

BASIC ENGINE

Service, Tier 3

1шт.

1

87544189

SHORT ENGINE

Includes Refs. 1 - 8

1шт.

1

87351542R

REMAN-BASIC ENGINE

TITAN 4020, TITAN 4520 Both FLOATER Tier 3 (8/06-1/12)

1шт.

1

87351542C

CORE-BASIC ENGINE

Return Number

1шт.

3

A77586

PLUG

Expansion, 28.9 mm od

3шт.

4

A77506

PLUG

Expansion, 21 mm od

4шт.

5

J905401

PLUG

35 MM

4шт.

6

87444056

BEARING CAP,159 mm OD x 34 mm

MAIN BEARING

7шт.

7

87444059

BOLT

Hex, Flange, M14 x 135

14шт.

8

J945329

CAMSHAFT BEARING,60.08mm ID x 64.13mm OD x 25mm L

BUSHING

7шт.

8a

87338079

KIT

Cylinder Block Hardware

1шт.

Includes Refs. 9 - 20

1шт.

9

217-103

COCK, DRAIN

valve, 1/4" PT

2шт.

10

86625135

PLUG,1" - 11-1/2 NPT

1шт.

11

J678923

PLUG,M10 x 1

10 MM

6шт.

Includes Ref. 12

1шт.

12

86625087

O-RING,1.6mm Thk x 8.1mm ID, Cl 7, 75 Duro

1шт.

13

J900257

PIN,10.01mm OD x 16mm L

10 mm x 16 mm long

4шт.

14

J901846

PIN,12.01mm OD x 24mm L

8шт.

15

41-3044

PLUG,Exp, 2 3/4"

2шт.

16

J907177

SEAL,118mm ID x 122.32mm OD x 4mm Thk

6шт.

17

J926048

O-RING,0.07" Thk x 2.614" ID, -38, Cl 5, 75 Duro

2шт.

18

87739191

NOZZLE

Piston Cooling (Cummins 4937305)

6шт.

18a

87673839

NOZZLE

Piston Cooling (Cummins 4937311)

6шт.

19

J678921

PLUG

14 MM, (INCLUDES REF. 20)

1шт.

20

J678912

O-RING,2.2mm Thk x 11.3mm ID

1шт.

21

J945603

GASKET,1.65mm Thk

WATER INLET

1шт.

22

J913030

FITTING

CONNECTOR, HYD, WATER INLET

1шт.

27

J920706

PLUG

Expansion, 22 mm od

4шт.

30

263136

MAGNETIC PLUG,Sq. Soc, 3/4"-14 NPTF

PLUG, MAGNETIC

5шт.

31

444704

PLUG,Hex Soc, 1/2"-14

6шт.

33

845-8020

BOLT,Hvy Hex, M8 x 20mm, Cl 8.8

2шт.

34

313244A1

PLUG

hex socket, 22 mm

2шт.

Includes Ref. 35

1шт.

35

313246A1

O-RING,2.2mm Thk x 19.3mm ID

19 mm id x 2.2 mm

1шт.

35a

310493A1

KIT

engine block heater, 120V, 1000W

1шт.

See Fig. 02-038

1шт.

36

87105748

ELECTRIC CABLE,120V, 15A

1829 mm (72") (Engine Block Heater, 120 Volt)

1шт.

37

NSS

NOT SOLD SEPARAT

CABLE, ELECTRIC, 1829 MM (72 IN)

1шт.

41

J900956

PLUG

3шт.

Not Shown

1шт.

42

87338185

BOLT

1шт.

Not Shown

1шт.

43

444704

PLUG,Hex Soc, 1/2"-14

1шт.

Not Shown

1шт.

44

87337018

BOLT

6шт.

Not Shown

1шт.

45

J678923

PLUG,M10 x 1

6шт.

Not Shown

1шт.

46

86625087

O-RING,1.6mm Thk x 8.1mm ID, Cl 7, 75 Duro

1шт.

Not Shown

1шт.

47

J678921

PLUG

1шт.

Not Shown

1шт.

49

A77586

PLUG

Expansion, 43 mm od

3шт.

Not Shown

1шт.

50

J909025

FLANGE BOLT,Hex, M8 x 1.25 x 55mm, Cl 10.9

M8 X 1.25 X 55

6шт.

Not Shown

1шт.

51

J943670

FITTING

1шт.

Not Shown

1шт.

52

J943808

PLUG

1шт.

53

87418224

TUBE,13.29mm L

Dipstick

1шт.

54

87418248

DIPSTICK

Engine Oil

1шт.

55

A77508

CLAMP

P-Type, 7/16" id

1шт.

Выбрано товаров: 63