Запчасти Case IH TITAN 4520 (06-010) - HYDRAULIC TANK FILTER (07) - HYDRAULICS

Схема запчастей Case IH TITAN 4520 - (06-010) - HYDRAULIC TANK FILTER (07) - HYDRAULICS
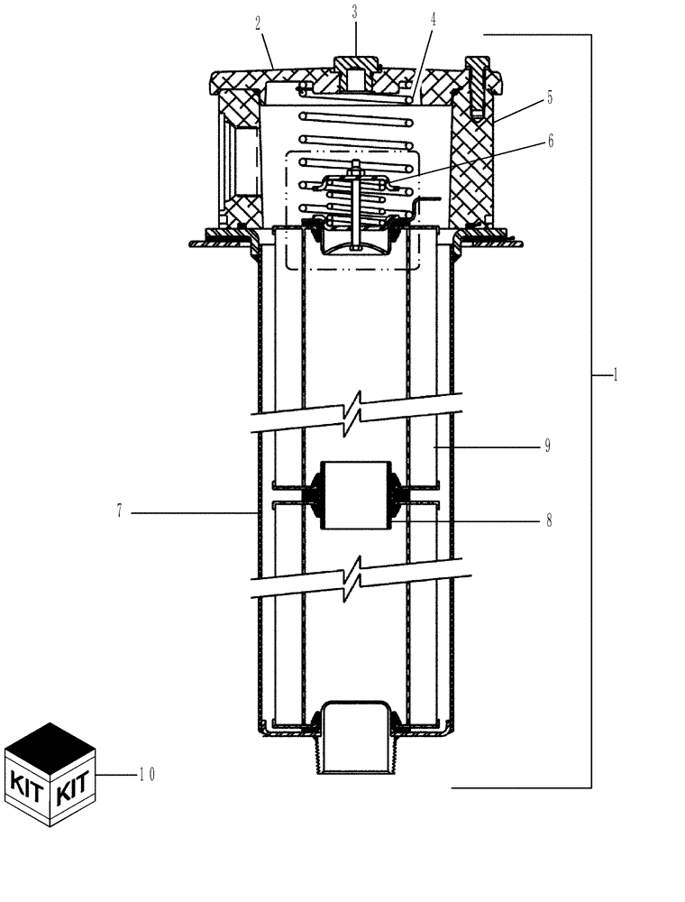
8
3
5
10
2
9
1
7
4
6
FIT
1:1
100%

Артикул

Название

Примечание

Количество

1

87267809

HYDRAULIC OIL FILTER

In-Tank

1шт.

Includes Ref. 2 - 9

1шт.

2

87272027

CAP

W/ Fill Port

1шт.

3

214389

PLUG,3/4" - 16 ORB

1шт.

4

87272028

SPRING

Compression

1шт.

5

87272030

FILTER HEAD

1шт.

6

87272029

FILTER ASSY

By-Pass Assembly, Oil

1шт.

7

87270357

FILTER BOWL

Housing

1шт.

8

87270366

SPACER

Filter Element

1шт.

9

87272033

ELEMENT

Oil Filter

2шт.

10

87272032

SEAL KIT

Buna, Oil Filter

1шт.

Выбрано товаров: 11