Запчасти Case IH TITAN 4520 (04-029) - GROUP, TOOLBOX Frame & Suspension

Схема запчастей Case IH TITAN 4520 - (04-029) - GROUP, TOOLBOX Frame & Suspension
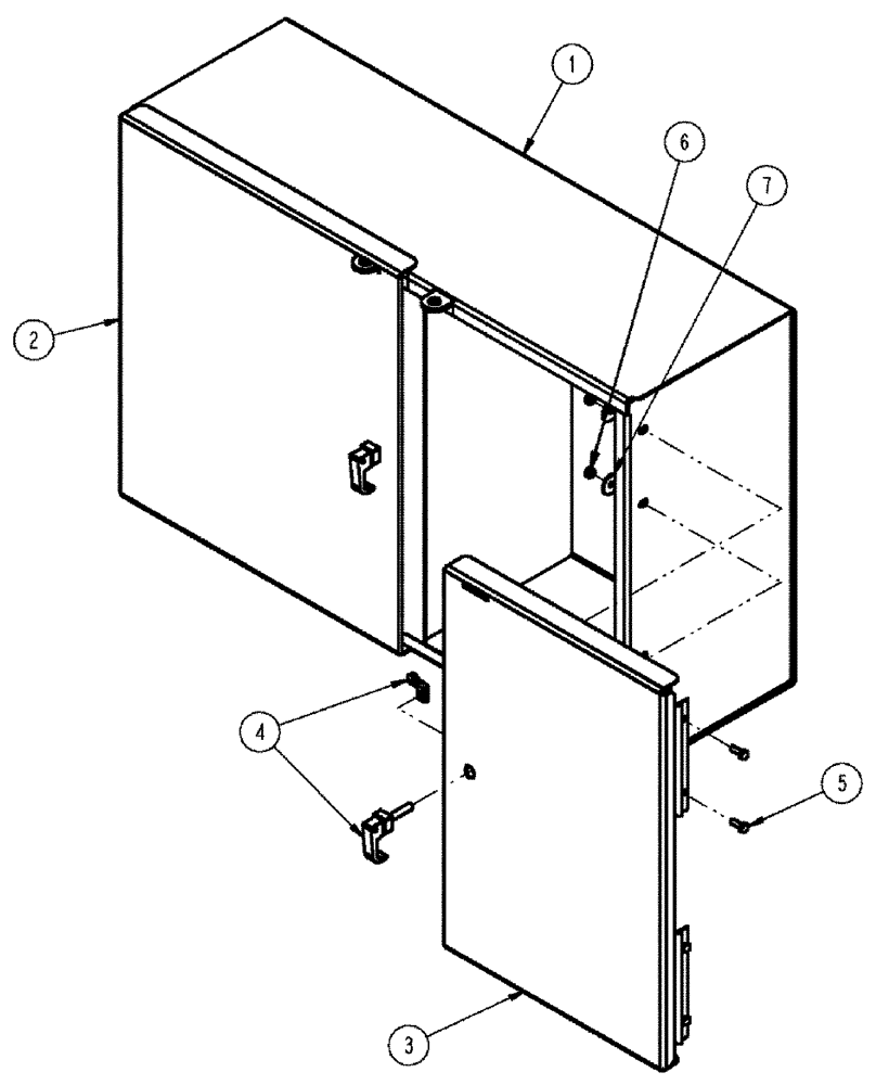
3
2
6
7
4
1
5
FIT
1:1
100%

Артикул

Название

Примечание

Количество

1

BN323194

TOOL BOX

WELDMENT

1шт.

2

87267969

DOOR

With Seal, LH

1шт.

3

87267968

DOOR

With Seal, RH

1шт.

4

BN320718

LATCH

PAWL, POSITIONING

2шт.

5

87343625

HEX SOC SCREW,M6 x 16mm, Cl 8.8, Full Thd

Hex Socket, M6 x 16, CL8.8 DOR

8шт.

6

353308

NUT,M6 x 1.0, Cl 8

8шт.

7

86624183

WASHER,6.6mm ID x 25mm OD x 1.6mm Thk

8шт.

Выбрано товаров: 7