Запчасти Case IH TITAN 4520 (10-001) - FRAME EXTENSION, 12" Options

Схема запчастей Case IH TITAN 4520 - (10-001) - FRAME EXTENSION, 12" Options
2
1
2
2
3
3
2
FIT
1:1
100%

Артикул

Название

Примечание

Количество

0

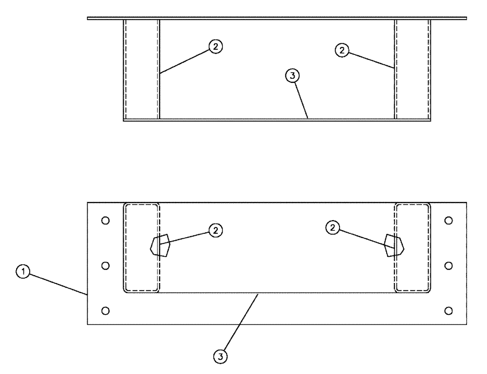
BN8171001

FRAME

Extension, 12”

1шт.

0

87342043

BOLT,Hex, M20 x 65mm, Cl 10.9

M20 - 2.5 X 65, 10.9, DOR

6шт.

0

87310608

WASHER,22mm ID x 44mm OD x 5mm Thk

22 x 44 x 5mm

12шт.

0

87024336

NUT,M20 x 2.5, Cl 10

6шт.

Выбрано товаров: 4