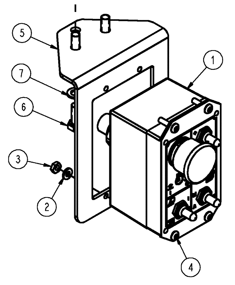
Запчасти Case IH TITAN 4520 (10-018) - REMOTE RELOAD GROUP Options

Схема запчастей Case IH TITAN 4520 - (10-018) - REMOTE RELOAD GROUP Options
6
7
3
4
1
2
5
FIT
1:1
100%

Артикул

Название

Примечание

Количество

1

87266536

CONTROL UNIT

Remote Station Reload Center

1шт.

See Fig. 09-019

1шт.

2

BN310265

WASHER

10, Stainless Steel

4шт.

3

BN310266

BHD LOCK NUT,#10-24, Nylon, Stainless Steel

4шт.

4

BN311631

BOLT,#10 - 24 x 3/4", SST

10-24 x .75, BSH, Stainless Steel

4шт.

5

87266150

SUPPORT

Mount, Remote Station

1шт.

6

120104

BOLT,Hex, M8 x 1.25 x 20mm, Cl 8.8

3шт.

7

86624184

WASHER,9mm ID x 16mm OD x 1.6mm Thk

3шт.

Выбрано товаров: 8