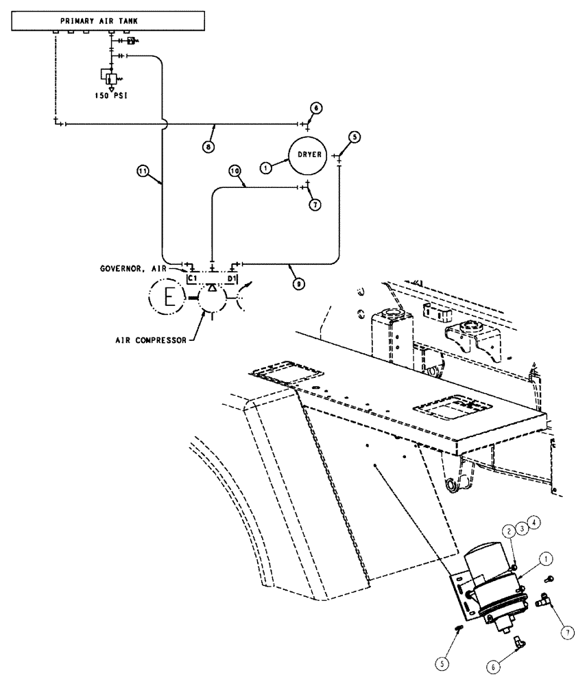
Запчасти Case IH TITAN 4520 (07-015) - AIR DRYER GROUP Pneumatics

Схема запчастей Case IH TITAN 4520 - (07-015) - AIR DRYER GROUP Pneumatics
5
7
1
5
2
3
4
9
1
6
10
6
8
7
11
FIT
1:1
100%

Артикул

Название

Примечание

Количество

1

87665066

RECEIVER-DRYER

Air, With Mounting Bracket

1шт.

See Fig. 07-016

1шт.

2

140017

WASHER,M10 x 20mm OD x 2mm Thk

8шт.

3

11106231

BOLT,Hex, M10 x 1.5 x 25mm, Cl 10.9

4шт.

4

100037

LOCK NUT,M10 x 1.5, Cl 8

4шт.

5

218-481

ELBOW,90 Degree Elbow, 7/16" - 20 Male JIC x 1/8" - 27 Male NPTF

1шт.

6

76352

90 ELBOW,3/4" - 16 JIC x 1/2" - 14 NPTF

1шт.

7

BN2390690

FITTING

5603-8-10

1шт.

8

87266804

HOSE

8 x 77"

1шт.

9

87266805

HOSE

4 x 107"

1шт.

10

87266806

HOSE,12.7mm ID x 2362.2mm L

10 x 93"

1шт.

11

BN314853

HOSE

4 X 108"

1шт.

Выбрано товаров: 12