Запчасти Case IH TITAN 4540 (55.302.AH[01]) - BATTERY & BATTERY - BOX (55) - ELECTRICAL SYSTEMS

Схема запчастей Case IH TITAN 4540 - (55.302.AH[01]) - BATTERY & BATTERY - BOX (55) - ELECTRICAL SYSTEMS
15
13
16
7
4
12
1
16
7
10
7
10
4
8
14
16
5
6
11
9
3
8
2
7
16
9
FIT
1:1
100%

Артикул

Название

Примечание

Количество

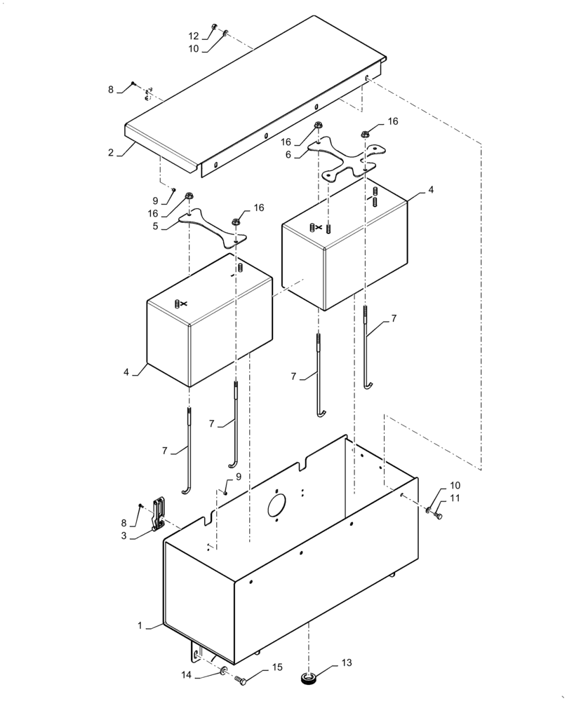
1

47797155

BATTERY BOX

1шт.

2

344076A1

COVER

Battery Box

1шт.

3

BN306240

LATCH

Soft, With Reverse Keeper

2шт.

4

BMF31GSW

WET BATTERY

12V 950 CCA, US

2шт.

4

CCMF31GSW

WET BATTERY

12V 950 CCA, Canada

2шт.

5

BN320331

BRACKET

Battery Mount

1шт.

6

84410730

MOUNT

Battery

1шт.

7

87534714

ROD

Battery Hold Down

4шт.

8

87342151

BOLT,Hex, M4 x 12mm, Cl 8.8, Full Thd

8шт.

9

87344029

NUT,Prev Torque, M4, 0.7 Pitch, Cl 8, DOR

8шт.

10

87529315

WASHER,9mm ID x 17mm OD x 2mm Thk

DOR

8шт.

11

86980378

BOLT,Hex, M8 x 1.25 x 16mm, Cl 8.8, Full Thd

4шт.

12

86980514

LOCK NUT,Hex, M8, Cl 8, DOR

4шт.

13

BN2290753

GROMMET

7/8" Hole

5шт.

14

87529312

WASHER,11mm ID x 24mm OD x 3mm Thk

4шт.

15

86980400

BOLT,Hex, M10 x 25mm, Cl 8.8, Full Thd

4шт.

16

BN50057

LOCK NUT,Lock, 5/16"-18, Stainless Steel

4шт.

Выбрано товаров: 17