Запчасти Case IH 221 (W-8) - RUNNER APPLICATOR / PRODUCT GRAPHICS

Схема запчастей Case IH 221 - (W-8) - RUNNER APPLICATOR / PRODUCT GRAPHICS
2
1
3
FIT
1:1
100%

Артикул

Название

Примечание

Количество

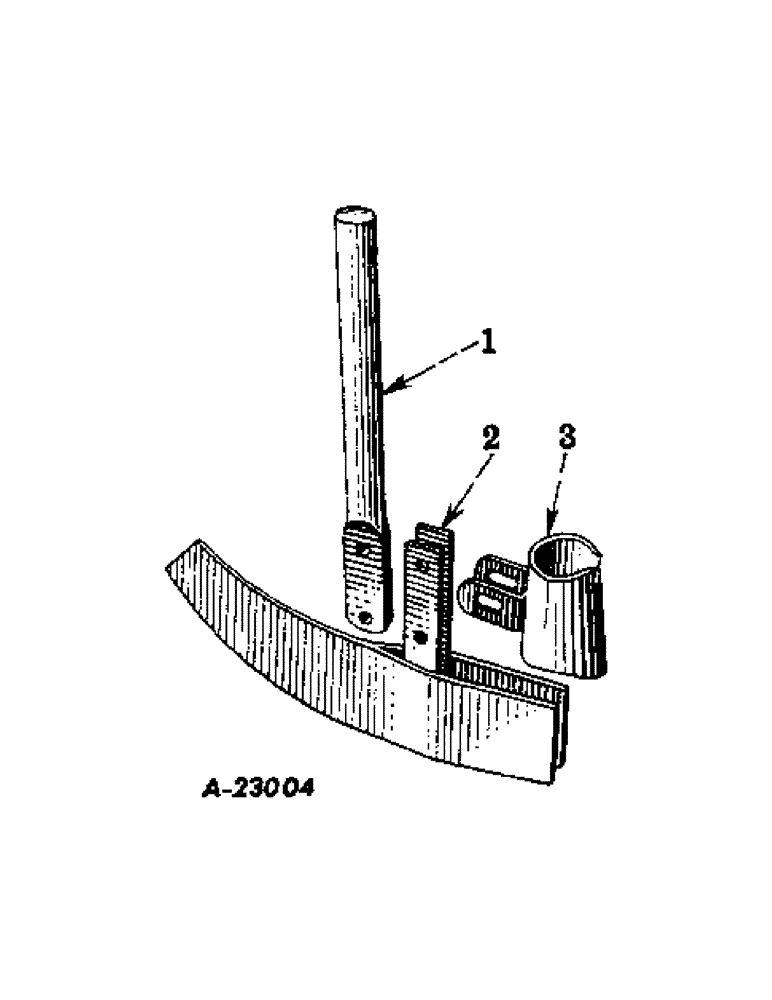
1

515873R1

STANDARD, 1-1/4 in. dia x 16-1/8 in.

1шт.

2

515902R92

RUNNER

1шт.

BOLT, 7/16 x 1-3/4 in. mach

1шт.

WASHER, 7/16 in. lock

1шт.

NUT, 7/16 in. hex

1шт.

3

515883R91

SPOUT, DISCHARGE

SPOUT, lower

1шт.

BOLT, 7/16 x 2 in. mach

1шт.

WASHER, 7/16 in. lock

1шт.

WASHER, 15/32 x 1 in. x 16 ga

2шт.

NUT, 7/16 in. hex

1шт.

2752215R1

IH, opposite the fertilizer feed spout and 3 in. below the top opening

1шт.

Выбрано товаров: 11