Запчасти Case IH 280 (AC-06) - DRIVE AND FEED SHAFT

Схема запчастей Case IH 280 - (AC-06) - DRIVE AND FEED SHAFT
5
15
16
12
13
9
6
3
14
1
7
4
11
8
10
2
FIT
1:1
100%

Артикул

Название

Примечание

Количество

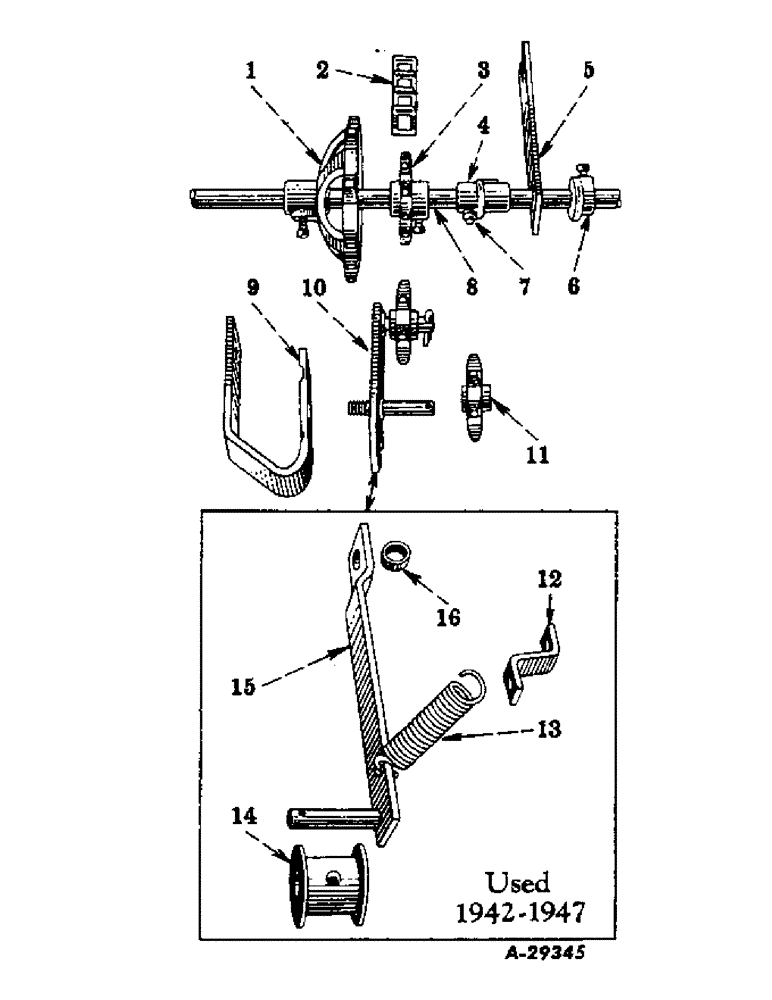
1

3609A

SPROCKET W/SET SCREW, 16T, Serial Range: 1942-1947

1шт.

1

621395R11

SPROCKET W/SET SCREW, 16T

1шт.

102893

SCREW, 3/8 x 5/8 in. sq-hd cup-pt set

1шт.

2

CHAIN, drive, use No. 32 steel links from 10 ft roll No. CS-32, Serial Range: 1942-1947

1шт.

2

CHAIN, drive, use 39 No. 32 steel links from 10 ft roll No. CS-32, 1948 and since

1шт.

3

621396R11

SPROCKET W/SET SCREW, 8 tooth

1шт.

102893

SCREW, 3/8 x 5/8 in. cup-pt sq-hd set

1шт.

4

3565A

BEARING, center

1шт.

PIN, 3/16 x 3/4 in. cotter

1шт.

5

33781A

BRACKET, center bearing

1шт.

BOLT W/NUT, 3/8 x 1-1/4 in. crg

1шт.

WASHER, 3/8 in. lock

1шт.

6

3608AX

COLLAR W/SET SCREW, feed shaft keys

1шт.

88949

SET SCREW,Sq Hd, 5/16" - 18 x 5/8"

SCREW, 5/16 x 5/8 in. cup-pt sq-hd set

1шт.

7

109461

LUBE NIPPLE,1/8"-27 x .66 lg

NIPPLE, LUBE, 1/8"-27 x .66 lg

1шт.

8

33646A

SHAFT, feed, for No. 40 planters

1шт.

8

33647AA

SHAFT, feed, for Nos. 44, 44A, 60 planters

1шт.

9

621398R2

BRACKET, chain tightener

1шт.

BOLT W/NUT, 3/8 x 1 in. mach

1шт.

WASHER, 3/8 in. lock

1шт.

10

621399R92

ARM ASSEMBLY, chain tightener

1шт.

NUT, 1/2 in. sq

1шт.

PIN, 3/16 x 1 in. cotter

1шт.

11

3621AAX

SPROCKET ASSY.

SPROCKET W/LUBRICATION FITTING, chain tightener, 7 tooth

1шт.

12

33780AA

ANCHOR, spring chain tightener, Serial Range: 1942-1947

1шт.

BOLT W/NUT, 3/8 x 1 in. mach

1шт.

WASHER, 3/8 in. lock

1шт.

13

PO16

SPRING

chain tightener, Serial Range: 1942-1947

1шт.

14

3240A

ROLLER

chain tightener, Serial Range: 1942-1947

1шт.

15

43174AA

ARM ASSEMBLY, chain tightener, Serial Range: 1942-1947

1шт.

BOLT W/NUT, 7/16 x 1-1/2 in. mach

1шт.

PIN, 3/16 x 1 in. cotter

1шт.

WASHER, 7/16 in. lock

1шт.

WASHER, 15/32 x 1-1/8 in. x 16 ga

1шт.

16

W6992

BUSHING

chain tightener arm, Serial Range: 1942-1947

1шт.

443567

LUBE NIPPLE,1/4" x .56 lg, Drive

FITTING, 1/4 in. drive type straight lubrication, in chain tightener sprocket

1шт.

Выбрано товаров: 36