Качественные детали и логистика
Оригинальные и аналоговые запчасти с доставкой по России, Казахстану и Беларуси
©2022 PartSell ООО "Система" ИНН 2463123282 ОГРН 1212400004838
Центральный офис: г. Красноярск, Академика Киренского, д.87, пом.4
Телефон: 8 (800) 777-65-74 Email: zakaz@partsell.ru
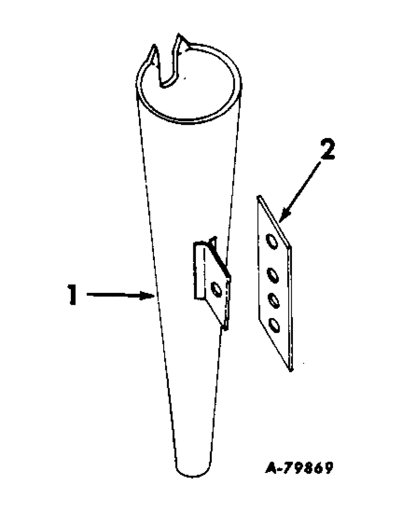
(T-15) - FERTILIZER SPOUT, FOR FRONT MOUNTED PLANTER UNITS
№
Артикул
Название
Примечание
Количество
1
471889R91
SPOUT ASSY, lower fertilizer
6шт.
2
471892R1
SUPPORT, spout
84983
SET SCREW,3/8" x 1"
SCREW, 3/8-16 x 1 C-Z sq-hd cup-pt set
124829
JAM NUT,Hex, 3/8" - 16, Gr 5
19574R1
BOLT, 3/8 x 5/8 C-Z hex-hd mach
120382
LOCK WASHER,Helical Spring, 3/8"
WASHER, LOCK, 3/8"
120377
NUT,3/8" - 16, Gr 5
Выбрано товаров: 0