Запчасти Case IH 7 (D-7) - LAND MEASURES, SPECIAL

Схема запчастей Case IH 7 - (D-7) - LAND MEASURES, SPECIAL
7
14
16
8
3
1
11
9
18
2
17
4
12
6
10
5
15
13
FIT
1:1
100%

Артикул

Название

Примечание

Количество

625743R91

LAND MEASURE UNIT, for 15 in. wheels, 1 for 8 ft.

1шт.

625744R91

LAND MEASURE UNIT, for 20 in. wheels, 1 for 8 ft., Serial Range: 1956-1961

1шт.

625700R91

LAND MEASURE UNIT, for 15 in. wheels, 1 for 10 ft.

1шт.

625701R91

LAND MEASURE UNIT, for 20 in. wheels, 1 for 10 ft., Serial Range: 1956-1961

1шт.

625702R91

LAND MEASURE UNIT, for 15 in. wheels, 1 for 12 ft.

1шт.

625703R91

LAND MEASURE UNIT, for 20 in. wheels, 1 for 12 ft., Serial Range: 1956-1961

1шт.

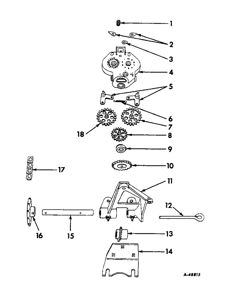
1

PO118

SPRING, pin, Serial Range: case-bracket

1шт.

2

N62677

INDICATOR, long

2шт.

3

N62678

INDICATOR, short

1шт.

4

623045R1

CASE, land measure, 200 acres

1шт.

103385

COTTER PIN,1/8" x 1"

PIN, SPLIT (COTTER), 1/8" x 1"

1шт.

SB191

HEADED PIN,3/8" x 1 3/4"

PIN, 3/8 x 1-3/4 std-hd

1шт.

5

N2591

STOP, gear

1шт.

104086

RIVET,But Hd, 1/4" x 1 1/8"

1/4 x 1-1/8 rd-hd

1шт.

6

N62683

SPRING

1шт.

7

N2586

GEAR, 20 tooth, 10 acres

1шт.

107762

WASHER,3/32" x 5/8"

PIN, SPLIT, (COTTER), 3/32" x 5/8"

1шт.

8

N2585

GEAR

worm, 19 tooth, 1/2 acre

1шт.

107762

WASHER,3/32" x 5/8"

PIN, SPLIT, (COTTER), 3/32" x 5/8"

1шт.

9

N2588

CAM, worm

1шт.

10

623046R1

GEAR, worm, 1 used for 8 ft.

1шт.

10

623047R1

GEAR, worm, 1 used for 10 ft.

1шт.

10

623048R1

GEAR, worm, 1 used for 12 ft.

1шт.

13268R1

BOLT, 1/4-20NC x 1-1/4 sq-hd

1шт.

13000R1

NUT, 1/4-20NC hex

1шт.

11

623049R11

BRACKET W/FITTING

1шт.

623085R1

BOLT, 3/8-16NC x 1-1/4 cd-pltd sq-hd

2шт.

623056R1

BOLT, 3/8-16NC x 3 cd-pltd hex-hd

1шт.

186969

FITTING, 5/16 straight drive type lub

2шт.

623067R1

NUT, 3/8-16NC cd-pltd hex

4шт.

623084R1

WING NUT

NUT, 3/8-16NC type A cd-pltd wing

1шт.

Q1505

WASHER

13/32 ID x 1 OD x 16 ga plain

4шт.

12

623053R1

EYE, auxiliary

1шт.

103385

COTTER PIN,1/8" x 1"

PIN, SPLIT (COTTER), 1/8" x 1"

1шт.

95-11034

WASHER,1/4"

11/32 ID x 1-1/6

1шт.

95-11034

WASHER,1/4"

11/32 ID x 1-1/16 OD x 18 ga plain

1шт.

13

625704R1

WORM, land measure

1шт.

443165

PIN, 1/4 x 1-1/4 groove no. 5

1шт.

14

625694R1

BRACKET, mounting

1шт.

19284

BOLT, 3/8-16NC x 3/4 cd-pltd carriage

2шт.

280136

NUT,3/8"-16, G8

3шт.

623068R1

WASHER

3/8 cd-pltd lock

3шт.

15

625693R1

SHAFT

1шт.

16

625705R1

SPROCKET, 8-tooth, for 20 in. wheel

1шт.

16

623051R1

SPROCKET, 12 tooth, for 15 in. wheel

1шт.

432-1628

COTTER PIN,1/4" x 1 3/4"

Pin, Split (Cotter), 1/4" x 1 3/4"

1шт.

17

512237R91

CHAIN, drive, 29 links, no. 25 steel

1шт.

18

N2587

GEAR, 20 tooth, 200 acres

1шт.

107762

WASHER,3/32" x 5/8"

PIN, SPLIT, (COTTER), 3/32" x 5/8"

1шт.

Выбрано товаров: 49