Запчасти Case IH 610 (01-013) - REMOTE RELOAD ELECTRICAL (06) - ELECTRICAL

Схема запчастей Case IH 610 - (01-013) - REMOTE RELOAD ELECTRICAL (06) - ELECTRICAL
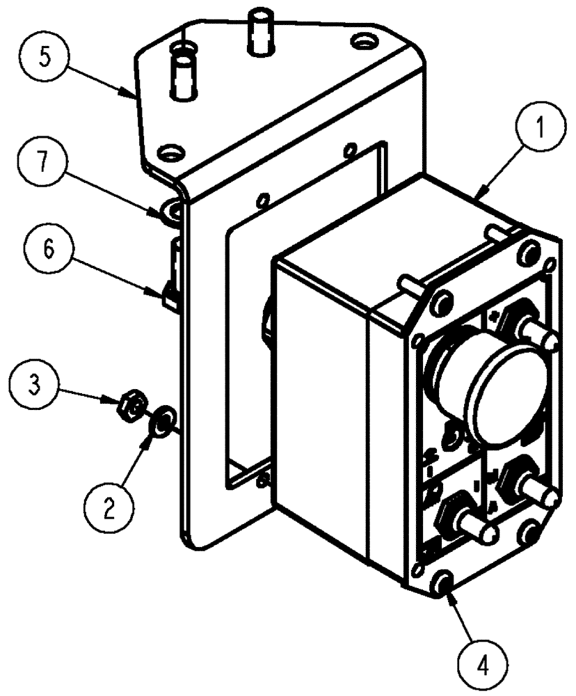
1
6
5
4
3
7
2
FIT
1:1
100%

Артикул

Название

Примечание

Количество

1

87266536

CONTROL UNIT

Remote Station Reload Center

1шт.

See Fig. 01-006

1шт.

2

BN310265

WASHER

10, Stainless Steel

4шт.

3

BN310266

BHD LOCK NUT,#10-24, Nylon, Stainless Steel

4шт.

4

BN311631

BOLT,#10 - 24 x 3/4", SST

10-24 x .75, BSH, Stainless Steel

4шт.

5

87266150

SUPPORT

Mount, Remote Station

1шт.

6

86980379

BOLT,Hex, M8 x 1.25 x 20mm, Cl 8.8

3шт.

7

87529315

WASHER,9mm ID x 17mm OD x 2mm Thk

9 x 17 x 2 mm, HDN, DOR

3шт.

Выбрано товаров: 8