Качественные детали и логистика
Оригинальные и аналоговые запчасти с доставкой по России, Казахстану и Беларуси
©2022 PartSell ООО "Система" ИНН 2463123282 ОГРН 1212400004838
Центральный офис: г. Красноярск, Академика Киренского, д.87, пом.4
Телефон: 8 (800) 777-65-74 Email: zakaz@partsell.ru
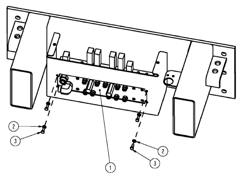
(03-013) - STACK VALVE GROUP 70, "SERIAL # 6700 AND LATER"
№
Артикул
Название
Примечание
Количество
1
86986495
HYDRAULIC VALVE
Control 5 Bank With Fittings
1шт.
See Fig. 03-021
2
87529315
WASHER,9mm ID x 17mm OD x 2mm Thk
9 x 17 x 2 mm, HDN, DOR
4шт.
3
120104
BOLT,Hex, M8 x 1.25 x 20mm, Cl 8.8
Выбрано товаров: 0