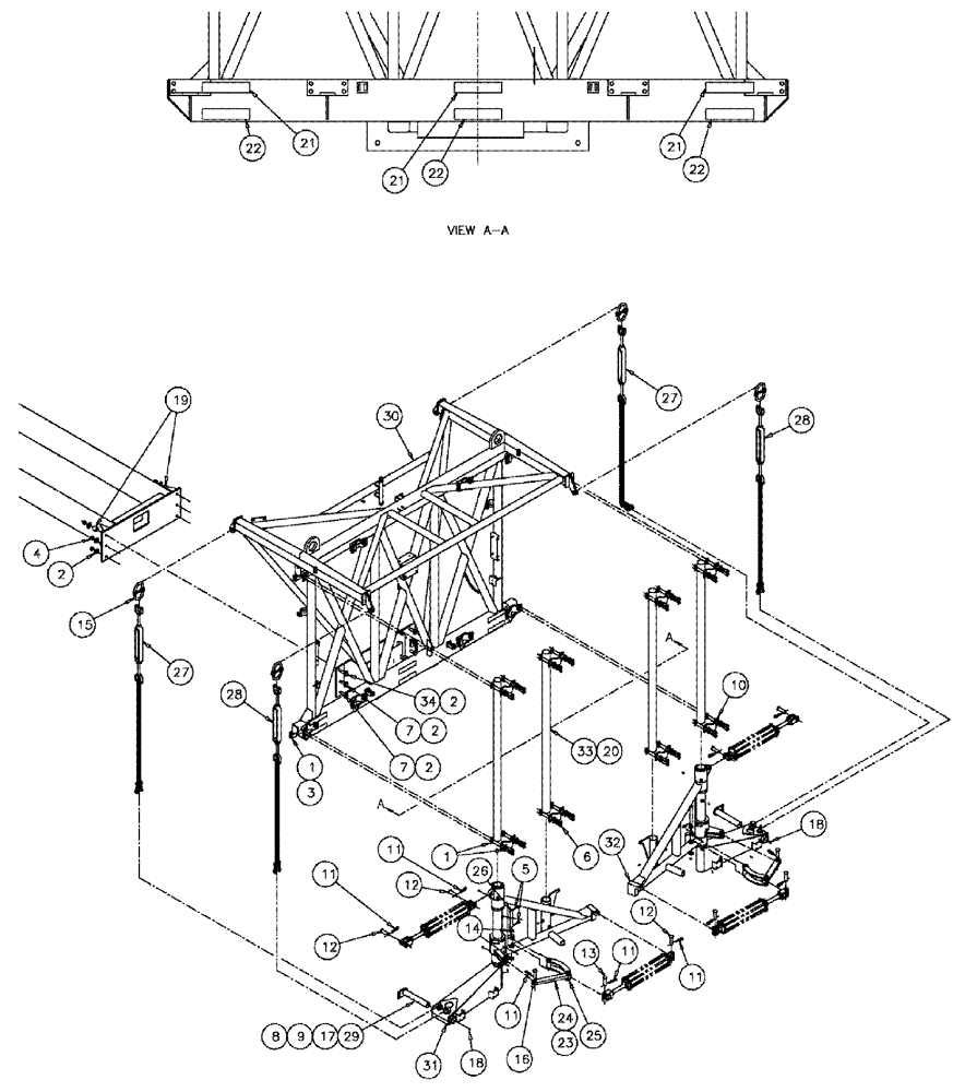
Запчасти Case IH 610 (03-040) - MAST GROUP, "BEFORE SERIAL # 6700" (09) - BOOMS

Схема запчастей Case IH 610 - (03-040) - MAST GROUP, "BEFORE SERIAL # 6700" (09) - BOOMS
34
15
4
23
19
2
2
27
21
16
24
22
22
20
29
5
21
30
11
22
12
21
27
11
2
18
11
28
12
17
7
8
31
10
1
18
9
1
11
3
33
13
6
2
25
28
14
32
11
12
26
7
FIT
1:1
100%

Артикул

Название

Примечание

Количество

2

86639847

WASHER,21.8mm ID x 44.5mm OD x 5mm Thk

12шт.

3

832-46416

NUT,M16 x 2, Cl 8

32шт.

4

380424

NUT,M20 x 2.5, Cl 8

6шт.

5

BN1630446

COTTER PIN

3/16" x 1 1/2"

4шт.

6

355259

BOLT,Hex, M16 x 65, 8.8

32шт.

7

814-20065

BOLT,Hex, M20 x 2.5 x 65mm, Cl 8.8

4шт.

8

86625255

WASHER,13.3mm ID x 24.5mm OD x 3mm Thk

4шт.

9

814-12045

BOLT,Hex, M12 x 1.75 x 45mm, Cl 8.8

4шт.

10

BN8192252

STRIP

ROD CAPTURE PROTO

8шт.

11

BN2297612

PIN

Clip 3/16" Dia x 3 3/4"

10шт.

12

87735776

PIN,25.4mm OD x 111.5mm L

1" x 3.6" fl, heat treated

6шт.

13

BN2297681

PIN

CLEVIS, 98306D693 1X4

2шт.

14

87374

WASHER,1.06" ID x 2.5" OD x 0.17" Thk

4шт.

15

BN2391225

CONNECTING LINK

A-337

4шт.

16

86632567

HEADED PIN,30.14mm OD x 66.55mm L

2шт.

17

412672

NUT,Hex, M12 x 1.75, Cl 10

4шт.

18

BN2651853

LUBE NIPPLE

1/4" NPT 67D 1629B

2шт.

19

86986163

SPACER

REAR MOUNT, FLEX

2шт.

20

331-37

SPARE PART

FLUID, 1 lb. Lithium #2 grease

2.2шт.

21

311865A1

REFLECTOR

fluorescent orange

3шт.

22

311863A1

REFLECTOR

Retroreflective Red

3шт.

23

BN10151

LUBE NIPPLE

1/8"-27 Straight

2шт.

24

BN319221

LINKAGE

BOOM CYLINDER

2шт.

25

BN8090016

LINKAGE

boom cylinder

2шт.

26

BN8090017

PIN

BOOM LINKAGE

2шт.

27

BN8191171A

CHAIN

ASSY, (FRONT) MAST

2шт.

28

BN8191173A

CHAIN

ASSY, (REAR) MAST P

2шт.

29

BN8191766

PIN

WLDMT, PIN 2" GREASABLE

2шт.

30

343115A1

MAST ASSEMBLY

Liquid

1шт.

31

87268256

PIVOT

Cylinder Mount, LH

1шт.

32

87268257

MOUNTING PLATE

Pivot/Cylinder, RH

1шт.

33

87267513

PIN,2.94mm OD x 73.81mm L

CENTER MAST

4шт.

34

395528

BOLT,Hex, M20 x 2.5 x 100mm, Cl 8.8

2шт.

35

432-1632

COTTER PIN,1/4" x 2"

2шт.

Выбрано товаров: 34