Запчасти Case IH FLX610 (02-004) - STABILIZER CYLINDER 4" ASSEMBLY Cylinders

Схема запчастей Case IH FLX610 - (02-004) - STABILIZER CYLINDER 4" ASSEMBLY Cylinders
4
2
4
3
1
FIT
1:1
100%

Артикул

Название

Примечание

Количество

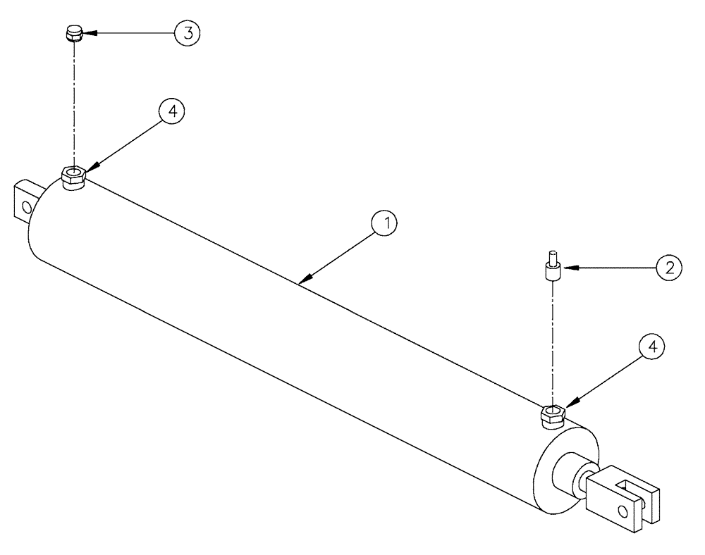
1

86986499

CYLINDER

Air 4.0 X 1.0 X 21.9

1шт.

See Fig. 02-007

1шт.

2

BN2399401

ADAPTER

Male, 1/4" Tube

1шт.

3

BN2401934

MUFFLER

Silencer, Air (SMC) 1/4"

1шт.

4

BN323191

FITTING

ADT. -4 NPT X -8 ORB

2шт.

Выбрано товаров: 5