Запчасти Case IH FLX610 (03-031) - MAST GROUP (09) - BOOMS

Схема запчастей Case IH FLX610 - (03-031) - MAST GROUP (09) - BOOMS
21
1
11
29
21
34
8
21
2
22
28
7
11
16
15
30
9
12
18
6
20
31
12
14
26
7
18
11
17
23
22
27
25
4
13
11
27
2
12
19
28
33
24
11
1
5
3
2
10
32
2
22
FIT
1:1
100%

Артикул

Название

Примечание

Количество

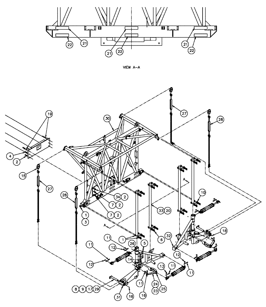
1

BN300501

WASHER

M16, FW, 10.9

96шт.

2

86639847

WASHER,21.8mm ID x 44.5mm OD x 5mm Thk

12шт.

3

832-46416

NUT,M16 x 2, Cl 8

32шт.

4

380424

NUT,M20 x 2.5, Cl 8

6шт.

5

BN1630446

COTTER PIN

3/16" x 1 1/2"

4шт.

6

355259

BOLT,Hex, M16 x 65, 8.8

32шт.

7

814-20065

BOLT,Hex, M20 x 2.5 x 65mm, Cl 8.8

4шт.

8

496-11012

WASHER

M12, FW, 8.8, ZND

4шт.

9

814-12045

BOLT,Hex, M12 x 1.75 x 45mm, Cl 8.8

4шт.

10

BN8192252

STRIP

Rod Capture PROTO

8шт.

11

BN2297612

PIN

Clip 3/16" Dia x 3 3/4"

10шт.

12

87735776

PIN,25.4mm OD x 111.5mm L

1" x 3.6" fl, heat treated

6шт.

13

BN2297681

PIN

Clevis, 98306D693 1X4

2шт.

14

87529238

WASHER,1.06" ID x 2" OD x 0.13" Thk

1.0625 x 2 x 0.134 HTS DOR

4шт.

15

BN2391225

CONNECTING LINK

A-337

4шт.

16

BN2397664

PIN

Clevis 1"

2шт.

17

412672

NUT,Hex, M12 x 1.75, Cl 10

4шт.

18

BN2651853

LUBE NIPPLE

1/4" NPT 67D 1629B

2шт.

19

86986163

SPACER

Rear Mount, Flex

2шт.

20

BN55015

NIPPLE, LUBE

NIPPLE Lithium 12-Grade #2, 2.2

1шт.

21

311865A1

REFLECTOR

fluorescent orange

3шт.

22

311863A1

REFLECTOR

Retroreflective Red

3шт.

23

BN10151

LUBE NIPPLE

1/8"-27 Straight

2шт.

24

BN319221

LINKAGE

Boom Cylinder

2шт.

25

BN8090016

LINKAGE

boom cylinder

2шт.

26

BN8090017

PIN

Boom Linkage

2шт.

27

BN8191171A

CHAIN

Assembly, (Front) Mast

2шт.

28

BN8191173A

CHAIN

Assembly, (Rear) Mast P

2шт.

29

BN8191766

PIN

Pin 2" Greasable

2шт.

30

343115A1

MAST ASSEMBLY

Liquid

1шт.

31

87268256

PIVOT

Cylinder Mount, LH

1шт.

32

BN8192204

PIVOT

Cylinder Mount

1шт.

33

87267513

PIN,2.94mm OD x 73.81mm L

Center Mast

4шт.

34

395528

BOLT,Hex, M20 x 2.5 x 100mm, Cl 8.8

2шт.

Выбрано товаров: 34