Запчасти Case IH FLX610 (04-005) - HYDRAULIC FITTINGS Hydraulic Plumbing

Схема запчастей Case IH FLX610 - (04-005) - HYDRAULIC FITTINGS Hydraulic Plumbing
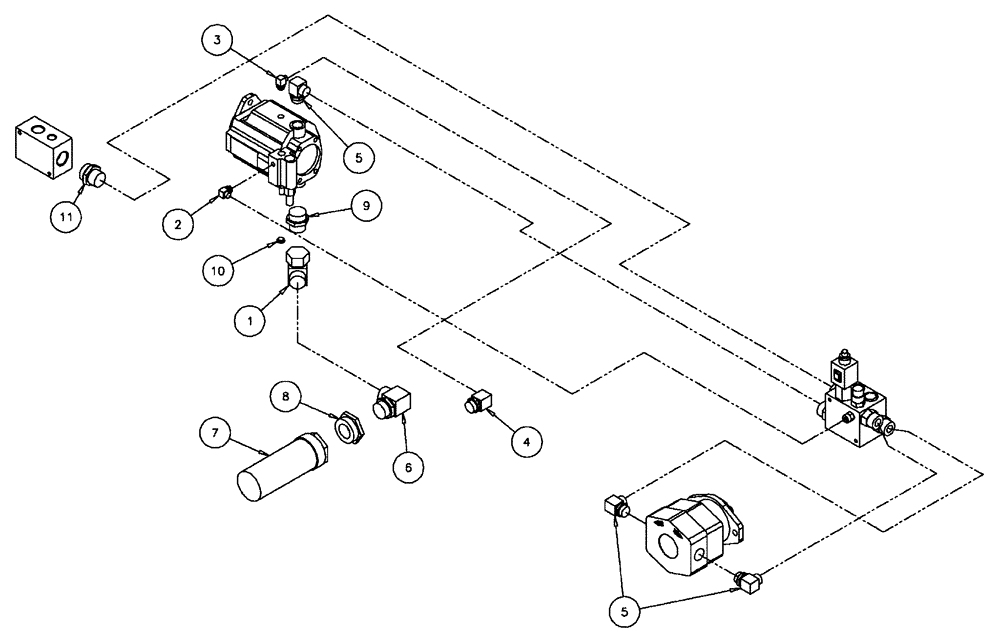
5
5
9
4
1
2
8
10
6
7
11
3
FIT
1:1
100%

Артикул

Название

Примечание

Количество

1

BN302449

ELBOW

24MOR-24FORX90

1шт.

2

BN302551

FITTING

6MOR-4MBX90

1шт.

3

BN302557

FITTING

8MOR-6MBX90

1шт.

4

BN302560

FITTING

8MOR-12MBX90

1шт.

5

BN302574

ELBOW

16MOR-16MBX90

3шт.

5a

167268

O-RING,0.116" Thk x 1.171" ID, -916, Cl 6, 90 Duro

1шт.

O-ring boss end

1шт.

5b

238-6021

O-RING,15/16 X 1 - 1/16, Cl 6

1шт.

Face seal end

1шт.

6

BN302579

FITTING

24MOR-24MBX90

1шт.

7

BN303527

FILTER STRAINER

48MBx-32FB,100

1шт.

8

BN318004

FITTING

32MB-24FB

1шт.

9

BN318898

FITTING

24MOR-20MB

1шт.

10

BN446048

PLUG

Hex Oring, -6, 9/16-18

1шт.

11

BN57223

FITTING

16 MOR-16 MB

1шт.

Выбрано товаров: 15