Качественные детали и логистика
Оригинальные и аналоговые запчасти с доставкой по России, Казахстану и Беларуси
©2022 PartSell ООО "Система" ИНН 2463123282 ОГРН 1212400004838
Центральный офис: г. Красноярск, Академика Киренского, д.87, пом.4
Телефон: 8 (800) 777-65-74 Email: zakaz@partsell.ru
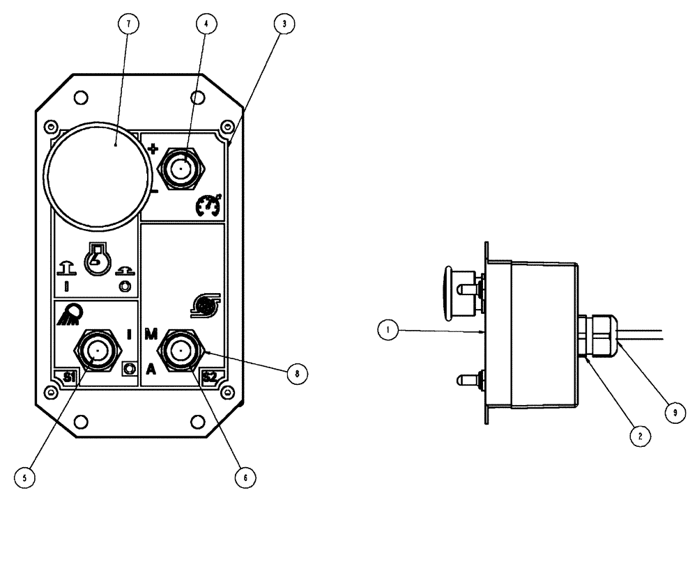
(01-007) - REMOTE STATION RELOAD
№
Артикул
Название
Примечание
Количество
1
86986403
SHIELD
Enclosure, With Rework
1шт.
2
BN66117
NUT
Strain Relief-Shift Cable
3
86986405
DECAL
Remote Station
4
BN29445
SWITCH
On-Off-On
5
BN24129
On-None-On Dpdt
2шт.
6
343660A1
COVER
switch, black, toggle
3шт.
7
86986404
push/pull, sealed
8
BN324373
1/2" toggle switch
9
86986410
WIRE HARNESS
Remote Module
Выбрано товаров: 0