Запчасти Case IH LIQUID (B-28) - 58 LIQUID FERTILIZERS, FERTILIZER RUNNER OPENER

Схема запчастей Case IH LIQUID - (B-28) - 58 LIQUID FERTILIZERS, FERTILIZER RUNNER OPENER
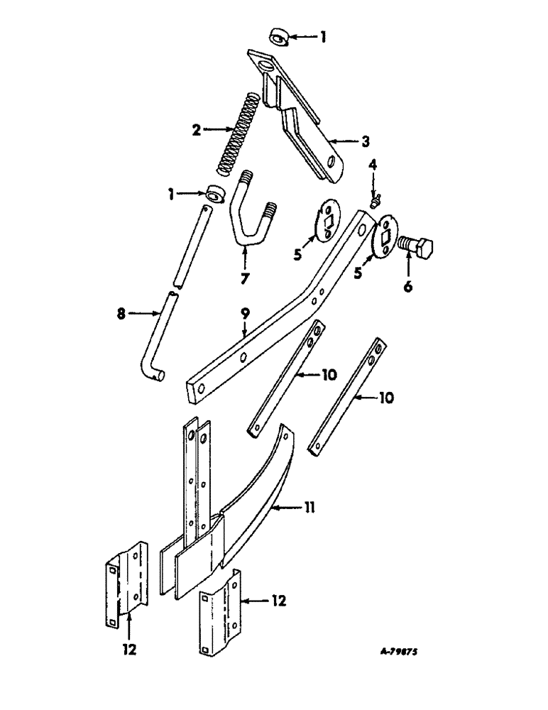
7
2
10
11
12
5
1
12
4
3
9
10
1
8
6
5
FIT
1:1
100%

Артикул

Название

Примечание

Количество

1

516595R11

COLLAR,16.67mm ID x 28.5mm OD x 19mm L

COLLAR W/SET SCREW, lift rod

2шт.

21803R1

SET SCREW,1/2" - 13 x 5/8", Steel

SCREW, 1/2-13 x 5/8 C-Z sq-hd cup-pt set

2шт.

2

26AS

SPRING

lift rod pressure, will work for PO32

1шт.

3

472390R92

BRACKET ASSEMBLY, lift arm

1шт.

4

125617

LUBE NIPPLE,3/16" x .61 lg, Drive

FITTING, 3/16 drive-type str lubrication

1шт.

5

486998R1

WASHER,20.63mm ID x 76.2mm OD x 1.52mm Thk

pivot bolt

2шт.

6

472396R1

BOLT,Hex, 3/4" - 10 x 2.24"

drawbar pivot

1шт.

426897

JAM NUT,Jam, 3/4"-10, G5

3/4-10 C-Z hex jam

1шт.

87340

LOCK WASHER,Helical Spring, 0.759" ID, CST, ZND

WASHER, LOCK, 3/4"

1шт.

7

484386R1

BOLT,5/8" - 11 x 6.1"

U-BOLT, lift arm bracket

1шт.

280374

NUT,Hex, 5/8" - 11, Gr 5

5/8-11 C-Z hex

2шт.

492-11062

BEARING WASHER,5/8"

WASHER, LOCK, 5/8"

2шт.

8

472397R1

ROD

lift

1шт.

21829R1

COTTER PIN,3/16" x 1 1/8"

3/16" x 1 1/8"

2шт.

589068R1

WASHER

21/32 x 1-1/4 x 11 ga C-Z

1шт.

9

477053R1

BAR, runner opener draw

1шт.

18497R1

BOLT,Hex, 1/2"-13 x 1 3/4", G2

1/2 x 1-3/4 C-Z hex-hd mach

1шт.

18823R1

BOLT,Hex, 5/8"-11 x 2", G2

5/8 x 2 C-Z hex-hd mach

1шт.

120378

NUT,Hex, 1/2" - 13, Gr 5

NUT, 1/2"-13, G5

1шт.

280374

NUT,Hex, 5/8" - 11, Gr 5

5/8-11 C-Z hex

1шт.

120384

WASHER,1/2"

LOCK, 1/2"

1шт.

492-11062

BEARING WASHER,5/8"

WASHER, LOCK, 5/8"

1шт.

10

477051R1

BRACE, runner

2шт.

18494R1

BOLT,Hex, 3/8" - 16 x 1", Gr 2

3/8 x 1 C-Z hex-hd mach

1шт.

120377

NUT,3/8" - 16, Gr 5

1шт.

120382

LOCK WASHER,Helical Spring, 3/8"

WASHER, LOCK, 3/8"

1шт.

11

477047R91

OPENER ASSEMBLY, runner

1шт.

12

477052R1

SPOUT, DISCHARGE

SPOUT, runner

2шт.

19428R1

BOLT, 5/16 x 5/8 in. C-Z sq-nk crg

2шт.

18765R1

BOLT,Hex, 5/16" - 18 x 1 1/2", Gr 2

5/16 x 1-1/2 C-Z hex-hd mach

2шт.

120376

NUT,5/16"-18, G5

4шт.

80681

LOCK WASHER,5/16"

WASHER, LOCK, 5/16"

4шт.

Выбрано товаров: 32