Запчасти Case IH LIQUID (B-43) - LIQUID FERTILIZERS - SQUEEZE PUMP, FERTILIZER APPLICATORS & HOSES / PRODUCT GRAPHICS

Схема запчастей Case IH LIQUID - (B-43) - LIQUID FERTILIZERS - SQUEEZE PUMP, FERTILIZER APPLICATORS & HOSES / PRODUCT GRAPHICS
12
6
6
4
1
4
10
5
7
2
4
10
7
9
11
8
1
5
4
9
11
3
13
FIT
1:1
100%

Артикул

Название

Примечание

Количество

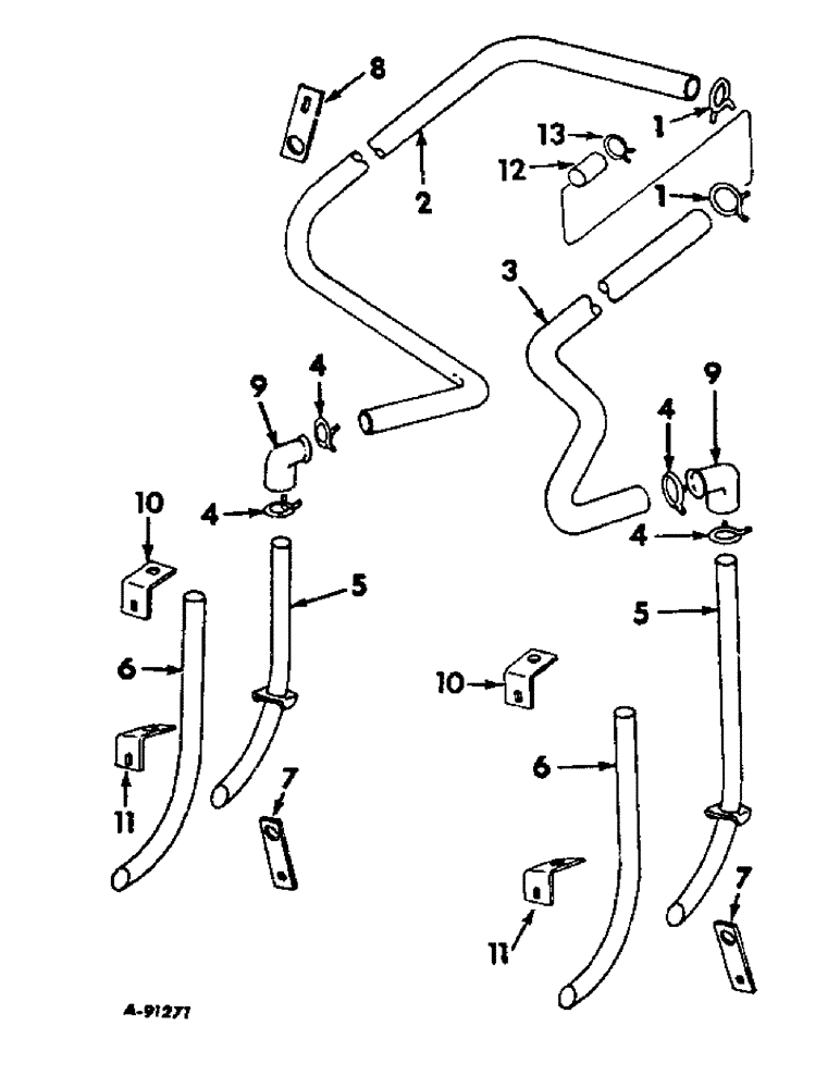
1

23085R1

CLAMP, no. 11 hose, for pop-up, 1 per row

1шт.

2

HOSE, applicator, 2 for pop-up, for all four row and 58 series six row, use 60 in. of 3/8 in. hose from a 50 ft. roll marked 526601R1

1шт.

2

HOSE, applicator, 2 for pop-up, for all four row and 58 series six row, use 96 in. of 3/8 in. hose from a 50 ft roll marked 526601R1

1шт.

2

HOSE, applicator, 2 for pop-up, for 58 series eight row, use 116 in. of 3/8 in. hose from a 50 ft. roll marked 526601R1

1шт.

2

HOSE, applicator, 2 for pop-up, for all six row and to convert the 58 series from four to six row, use 120 in. of 3/8 in. hose from a 50 ft. roll marked 526601R1

1шт.

2

HOSE, applicator, 2 for pop-up, for 58 series eight row, use 146 in. of 3/8 in. hose from a 50 ft. roll marked 526601R1

1шт.

2

HOSE, applicator, 2 for pop-up, for 56 and 66 series six row, use 160 in. of 3/8 in. hose from a 50 ft. roll marked 526601R1

1шт.

2

HOSE, applicator, 2 for pop-up, for 58 series eight row, use 176 in. of 3/8 in. hose from a 50 ft. roll marked 526601R1

1шт.

2

HOSE, applicator, 2 for pop-up, for 56 and 66 series six row, use 200 in. of 3/8 in. hose from a 50 ft. roll marked 526601R1

1шт.

2

HOSE, applicator, 2 for pop-up, for 58 series eight row, use 206 in. of 3/8 in. hose from a 50 ft. roll marked 526601R1

1шт.

3

HOSE, applicator, 2 for side placement, for all planters except the 58 series conversion from four to six row, use 30 in. of 5/8 in. hose from a 100 ft. roll marked 526604R1

1шт.

3

HOSE, applicator, 2 for side placement, for 58 series six row, use 60 in. of 5/8 in. hose from a 100 ft. roll marked 526604R1

1шт.

3

HOSE, applicator, 2 for side placement, for all four row and to convert the 58 series from four to six row, use 80 in. of 5/8 in. hose from a 100 ft. roll marked 526604R1

1шт.

3

HOSE, applicator, 2 for side placement, for 56 and 66 series six row and 58 series eight row, use 86 in. of 5/8 in. hose from a 100 ft roll marked 526604R1

1шт.

3

HOSE, applicator, 2 for side placement, for 58 series six row and to convert 58 series from four to six row, use 96 in. of 5/8 in. hose from a 100 ft. roll marked 526604R1

1шт.

3

HOSE, applicator, 2 for side placement, for 56 and 66 series six row and 58 series eight row, use 100 in. of 5/8 in. hose from a 100 ft. roll marked 526604R1

1шт.

3

HOSE, applicator, 2 for side placement, for 58 series eight row, use 144 in. of 5/8 in. hose from a 100 ft. roll marked 526604R1

1шт.

4

237585R1

HOSE CLAMP,#13, 13/16", Spring

CLAMP, no. 13 type E hose, 2 per row, for double-disk openers

1шт.

4

313317R1

HOSE CLAMP,#12, 3/4", Spring

CLAMP, no. 12 hose, 1 per row, for pop-up

1шт.

5

464751R11

TUBE

ASSY, 1 per row, for double-disk openers

1шт.

6

493669R1

TUBE, fertilizer, 1 per row, for pop-up, on orders for 490597R1 furnish tube 493669R1 and clamp 493670R1

1шт.

7

464753R1

SUPPORT, tube, 1 per row, for double-disk openers

1шт.

18494R1

BOLT,Hex, 3/8" - 16 x 1", Gr 2

3/8-16 x 1 C-Z hex-hd mach

1шт.

120377

NUT,3/8" - 16, Gr 5

1шт.

120382

LOCK WASHER,Helical Spring, 3/8"

WASHER, LOCK, 3/8"

1шт.

8

490599R1

STRIP, tube mtg, 1 per row, for pop-up

1шт.

9

476908R2

ELBOW, valve outlet, 1 per row, for double disk openers

1шт.

10

490600R1

BRACKET, centering, 1 per row, for pop-up

1шт.

11

493670R1

BRACKET, tube, 1 per row, for pop-up, on orders for 490598R1 furnish clamp 493670R1 and tube 493669R1

1шт.

18787R1

BOLT,Hex, 3/8"-16 x 4", G2

3/8-16 x 4 C-Z hex-hd mach

1шт.

120377

NUT,3/8" - 16, Gr 5

1шт.

120382

LOCK WASHER,Helical Spring, 3/8"

WASHER, LOCK, 3/8"

1шт.

120394

WASHER,3/8", SAE

WASHER, 13/32 x 13/16 x .065 C-Z

1шт.

12

490601R1

ADAPTER, pump to 5/8 hose, 1 per row, for double disk openers

1шт.

13

313317R1

HOSE CLAMP,#12, 3/4", Spring

CLAMP, hose for adapter to pump, 1 per row, for double-disk openers

1шт.

13

122316R91

HOSE CLAMP,#12, 0.69/1.25 Type F Worm

CLAMP, no. 12 type F hose, 1 per row, for eight row

1шт.

547494R92

DECAL

PACKAGE, IH trademark product graphics

1шт.

2753117R2

PRODUCT GRAPHIC, liquid gauge

1шт.

Выбрано товаров: 38