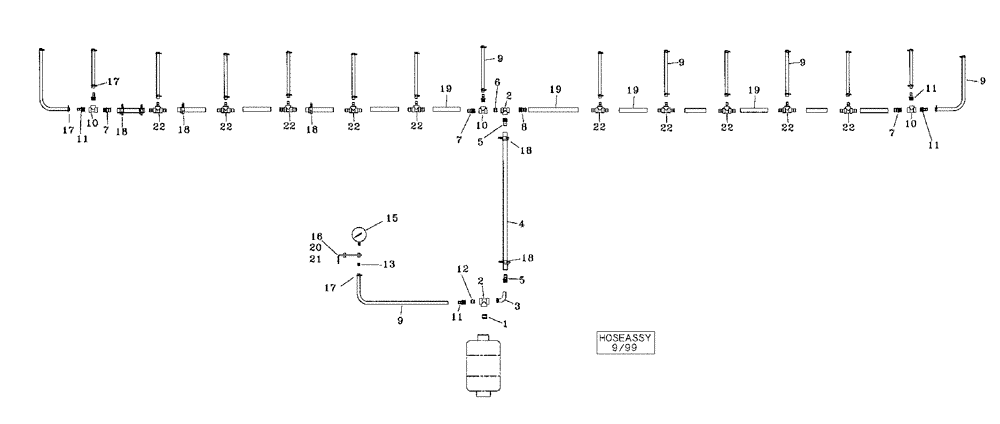
Запчасти Case IH NPX2800 (75.200.07[01]) - HOSE ASSEMBLY SINGLE PISTON PUMP 2009 AND PRIOR (75) - SOIL PREPARATION

Схема запчастей Case IH NPX2800 - (75.200.07[01]) - HOSE ASSEMBLY SINGLE PISTON PUMP 2009 AND PRIOR (75) - SOIL PREPARATION
19
9
4
10
19
9
15
20
7
12
16
3
9
10
18
22
22
19
19
11
22
22
17
22
11
18
22
22
9
5
18
1
5
22
17
22
21
13
11
10
18
7
17
18
22
7
11
9
8
FIT
1:1
100%

Артикул

Название

Примечание

Количество

1

34308000

NIPPLE,1" NPT x 1" NPT, Poly

1" NPT

1шт.

2

34308005

TEE,1" NPT x 1" NPT x 1" NPT, Poly

1"

2шт.

3

34308002

ELBOW,1" NPT, Poly

1" Street

1шт.

4

25674945

HOSE

1" x 7" EPDM

1шт.

5

34308001

PIPE FITTING,1" NPT x 1" Hose Barb, Poly

1"

2шт.

6

34308042

HYD CONNECTOR

1" x 1/2" Reducer

1шт.

7

34304061

PIPE FITTING

1/2" x 3/4" NPT, Hose

1шт.

8

34308060

PIPE FITTING,1" NPT x 3/4" Hose Barb, Poly

1" x 3/4" NPT, Hose

1шт.

9

25630805

HOSE

1/2" x 60

1шт.

10

34304002

TEE,1/2" Poly Tee

1/2"

1шт.

11

34304032

PIPE FITTING

1/2" x 1/2" Hose

1шт.

12

34308041

BUSHING,1" NPT x 1/2" NPT

1" x 1/2" Reducer

1шт.

13

15040251

HYD CONNECTOR

1/2" x 3/8" NPT

1шт.

14

15010251

LUBE NIPPLE,1/4" NPT x 1-1/2" L

1/4" NPT

1шт.

15

34599015

GAUGE ASSY.,160 PSI

With Protector

1шт.

16

04681830

BRACKET

1шт.

17

214-1406

HOSE CLAMP,#06, 0.44" - 0.78", Type F Worm

1шт.

18

214-1416

HOSE CLAMP,#16, 0.81" - 1.5", Type F Worm

1шт.

19

25661232

HOSE

3/4" x 32, EPDM

1шт.

20

413-616

BOLT,Hex, 3/8" - 16 x 1", Gr 5

1шт.

21

425-106

NUT,3/8"-16, Cl 5

1шт.

22

34306051

TEE

3/4" x 1/2"

10шт.

23

30007000

CABLE TIE,.350" x 20.9"

CABLE STRAP

1шт.

Выбрано товаров: 23