Запчасти Case IH NPX5300 (39.110.01) - REAR HITCH (39) - FRAMES AND BALLASTING

Схема запчастей Case IH NPX5300 - (39.110.01) - REAR HITCH (39) - FRAMES AND BALLASTING
19
23
12
6
10
3
11
9
22
7
25
2
27
24
8
22
27
20
29
5
26
28
31
32
33
30
1
4
21
FIT
1:1
100%

Артикул

Название

Примечание

Количество

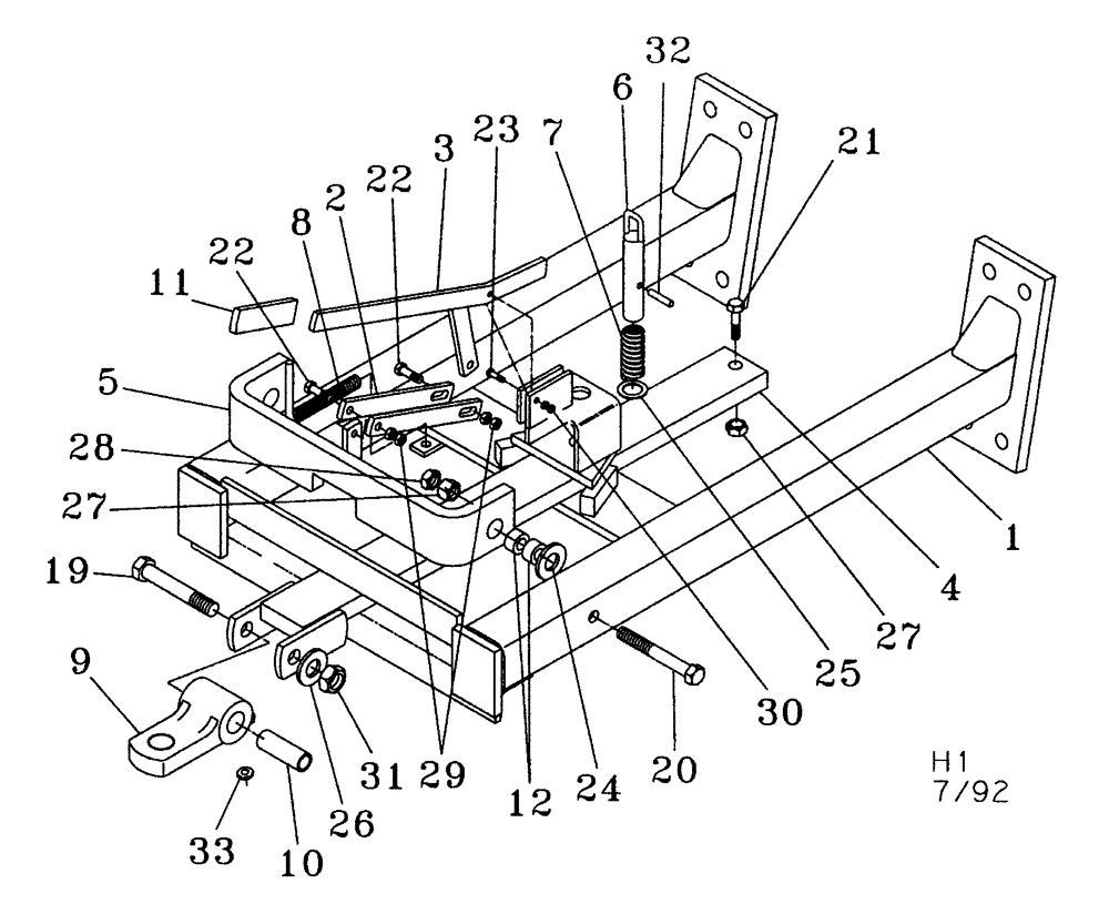
1

02391200

HITCH ASSY

Rear

1шт.

2

04664130

LINK ASSY.

2шт.

3

04664200

HANDLE

1шт.

4

04664400

BAR

Tow

1шт.

5

04664300

STOP

Draw Bar

1шт.

6

14816166

HITCH PIN,25.4mm OD x 127mm L

1шт.

7

24111200

SPRING

Compression

1шт.

8

24312000

COIL SPRING

Extension

1шт.

9

20092085

CLEVIS

Single

1шт.

10

44009370

SPACER

1шт.

11

30011100

HOLDER

Vinyl

1шт.

12

44006200

BUSHING,16.38mm ID x 28.58mm OD x 15.75mm L

4шт.

19

16901420

SPECIAL BOLT

7/8 x 5-1/2

1шт.

20

413-1088

BOLT,Hex, 5/8" - 11 x 5-1/2", Gr 5

2шт.

21

413-1028

BOLT,Hex, 5/8" - 11 x 1-3/4", Gr 5

1шт.

22

413-632

BOLT,Hex, 3/8" - 16 x 2", Gr 5

2шт.

23

413-424

BOLT,Hex, 1/4" - 20 x 1-1/2", Gr 5

2шт.

24

17618030

BUSHING

1-1/8, 18 Gauge, Machine

4шт.

25

17616020

WASHER

1, 14 Gauge, Machine

1шт.

26

17414012

WASHER,23.83mm ID x 44.45mm OD x 6.45mm Thk

7/8

1шт.

27

425-1010

NUT,5/8"-11, G5

3шт.

28

425-1410

JAM NUT,Jam, 5/8"-11, G5

2шт.

29

425-106

NUT,3/8"-16, Cl 5

4шт.

30

425-104

NUT,1/4"-20, Cl 5

2шт.

31

87681198

NUT,Hex, 7/8"-9, 0.45 high

7/8

1шт.

32

438-11624

ROLL PIN,6.35mm OD x 38.1mm L

1шт.

33

219-86

LUBE NIPPLE,1/8" NPTF

1шт.

Выбрано товаров: 27