Запчасти Case IH NPX5300 (39.110.05) - TRANSPORT JACK ASSEMBLY (39) - FRAMES AND BALLASTING

Схема запчастей Case IH NPX5300 - (39.110.05) - TRANSPORT JACK ASSEMBLY (39) - FRAMES AND BALLASTING
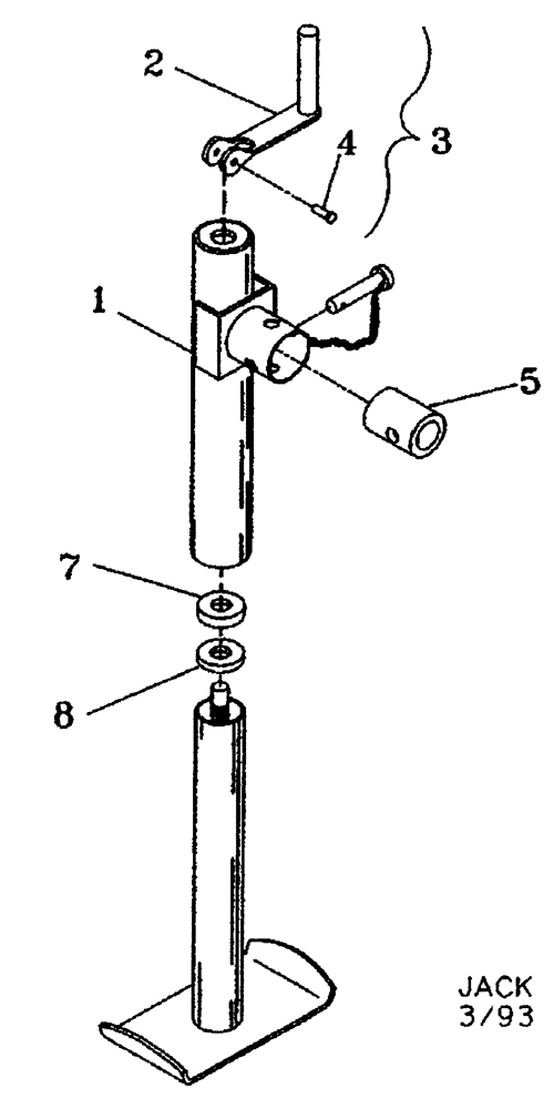
4
1
8
2
5
3
7
FIT
1:1
100%

Артикул

Название

Примечание

Количество

1

32230000

JACK

5000 lb

1шт.

2

NSS

NOT SOLD SEPARAT

Handle

1шт.

3

32230100

PACKAGE

Handle Replacement

1шт.

4

NSS

NOT SOLD SEPARAT

1/4 x 1 Bolt

1шт.

5

09311040

TUBE,1.3" ID, 2" OD, 2.62" Length

Mounting

1шт.

7

NSS

NOT SOLD SEPARAT

Thrust Bearing

1шт.

8

NSS

NOT SOLD SEPARAT

Thrust Washer

1шт.

9

NSS

NOT SOLD SEPARAT

1/4 Lock Nut

1шт.

Выбрано товаров: 8