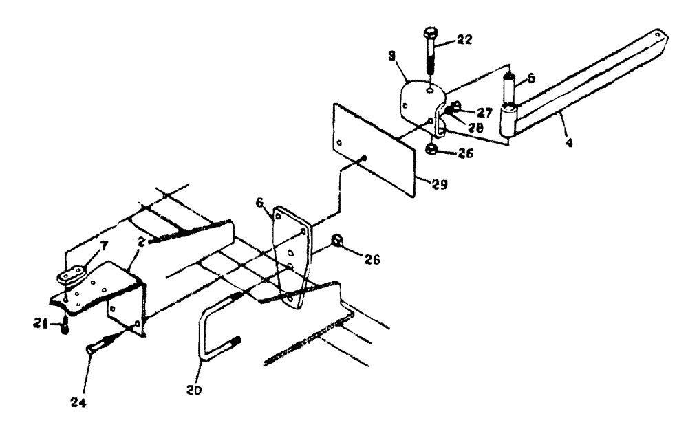
Запчасти Case IH NPX5300 (75.200.17) - SINGLE SQUIBB MOUNT WITH 1 MANIFOLD (75) - SOIL PREPARATION

Схема запчастей Case IH NPX5300 - (75.200.17) - SINGLE SQUIBB MOUNT WITH 1 MANIFOLD (75) - SOIL PREPARATION
FIT
1:1
100%

Артикул

Название

Примечание

Количество

2

04660310

STAND

Regulator

1шт.

3

04660320

BAR ASSY.

1шт.

4

04660330

CHANNEL

Pivot Extension

1шт.

5

04660340

TUBE,0.81" ID, 1.25" OD

Pivot

1шт.

6

02391118

PLATE

Stand Regulator

1шт.

7

04660019

SPACER

Block

1шт.

20

87427186

U-BOLT

BOLT "U" 4 x 6 x 6, Square

1шт.

21

413-624

BOLT,Hex, 3/8" - 16 x 1-1/2", Gr 5

2шт.

22

413-1296

BOLT,Hex, 3/4" - 10 x 6", Gr 5

1шт.

24

413-1040

BOLT,Hex, 5/8" - 11 x 2-1/2", Gr 5

2шт.

25

280375

NUT,3/4"-10, GC

1шт.

26

425-1012

NUT,3/4"-10, G5

2шт.

27

425-1010

NUT,5/8"-11, G5

2шт.

28

492-11062

BEARING WASHER,5/8"

2шт.

29

04681850

SUPPORT

Danger, With Danger Sign

1шт.

30

18534368

DECAL

Danger, Not Shown

1шт.

Выбрано товаров: 16