Запчасти Case IH NPX5300 (75.200.20) - 8-30 ROW MARKER OPTION (75) - SOIL PREPARATION

Схема запчастей Case IH NPX5300 - (75.200.20) - 8-30 ROW MARKER OPTION (75) - SOIL PREPARATION
11
4
26
2
1
21
20
8
25
30
24
14
13
12
3
7
15
5
27
6
22
28
23
9
13
16
FIT
1:1
100%

Артикул

Название

Примечание

Количество

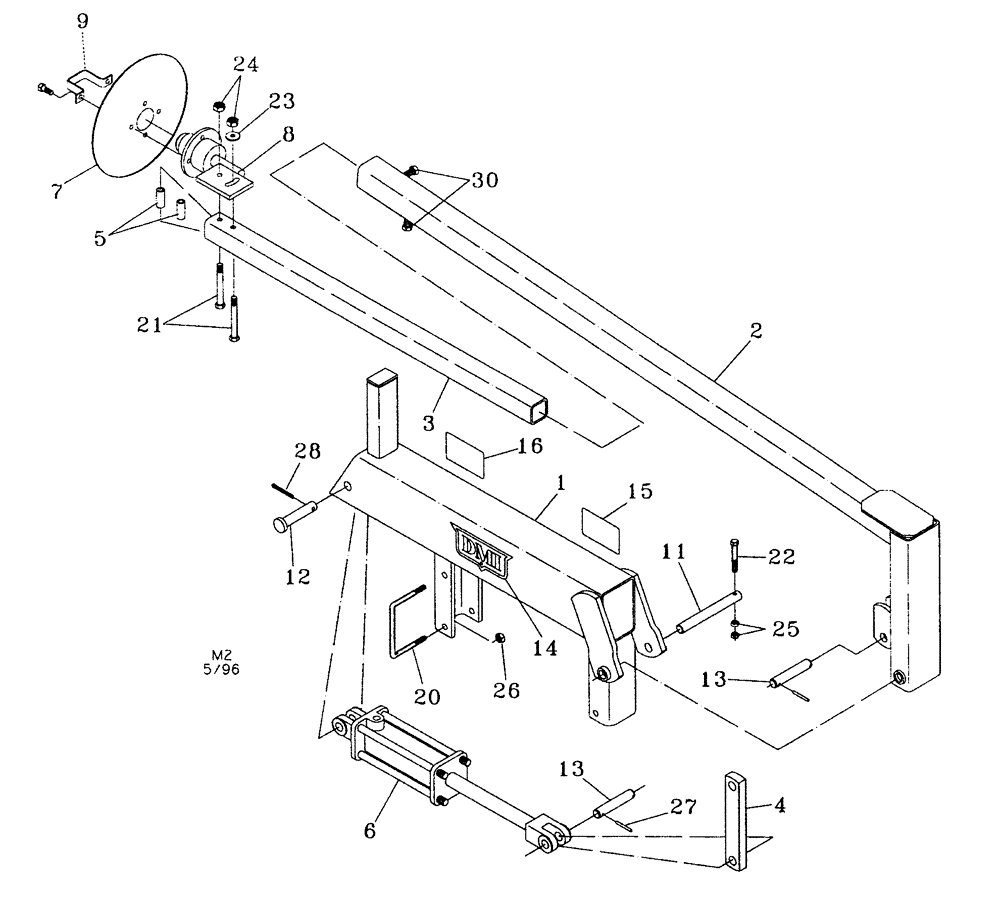
1

04670600

MOUNTING PARTS

Marker, 8-30 Row

2шт.

2

04670700

ARM

8-30 Row

2шт.

3

04670400

ARM

Extension

2шт.

4

04670210

SPINDLE

Link

2шт.

5

04670220

SPACER

Tube, Externsion

4шт.

6

25325161

HYDRAULIC CYLINDER,Double Acting, 31mm Rod, 406.4mm Stroke

2-1/2 x 16

2шт.

7

443623A1

PLOW DISC

HPT BLADES 13" PLAIN 2.5 MM

2шт.

8

04673500

HUB

Marker

2шт.

9

04670510

CAP

Hub

2шт.

11

14891644

SPECIAL PIN

1 x 8.80

2шт.

12

14816426

CLEVIS

1 x 5-1/4

2шт.

13

25890100

KIT

1

4шт.

14

18534259

DECAL

DMI

2шт.

15

18534285

DECAL

Danger

2шт.

16

18534275

DANGER DECAL

Danger, OH Power

2шт.

20

87427168

U-BOLT

5/8 x 6 x 5-1/2

4шт.

21

413-872

BOLT,Hex, 1/2" - 13 x 4-1/2", Gr 5

4шт.

22

413-640

BOLT,Hex, 3/8" - 16 x 2-1/2", Gr 5

2шт.

23

495-21056

WASHER,1/2"

2шт.

24

425-108

NUT,1/2" - 13, Gr 5

4шт.

25

425-106

NUT,3/8"-16, Cl 5

4шт.

26

425-1010

NUT,5/8"-11, G5

8шт.

27

432-1232

COTTER PIN,3/16" OD x 2" L

4шт.

28

432-1632

COTTER PIN,1/4" x 2"

2шт.

29

219-86

LUBE NIPPLE,1/8" NPTF

2шт.

30

413-1028

BOLT,Hex, 5/8" - 11 x 1-3/4", Gr 5

2шт.

Выбрано товаров: 0