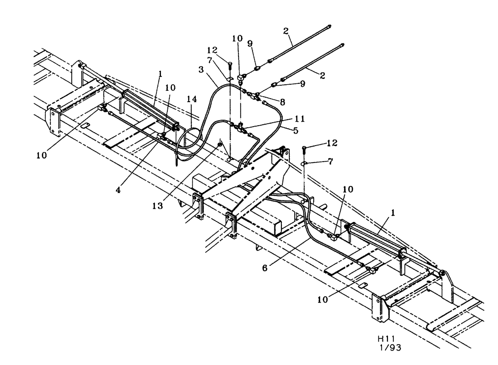
Запчасти Case IH NPX5300 (35.100.01) - NPX5300 HYDRAULICS 22-1/2 THROUGH 32-1/2 UNITS (35) - HYDRAULIC SYSTEMS

Схема запчастей Case IH NPX5300 - (35.100.01) - NPX5300 HYDRAULICS 22-1/2 THROUGH 32-1/2 UNITS (35) - HYDRAULIC SYSTEMS
2
10
7
5
7
1
9
4
14
10
1
2
11
13
3
12
12
10
9
10
10
6
8
FIT
1:1
100%

Артикул

Название

Примечание

Количество

1

25335242

CYLINDER ASSY.,Double Acting, 38.1mm Rod, 609.6mm Stroke

3-1/2 x 24

2шт.

25335242R

REMAN-HYD CYLINDER

NPX5300 Mounted

2шт.

25335242C

CORE-HYD CYLINDER

Return Number

1шт.

2

25600647

HYDRAULIC HOSE,0.38" ID x 48.00"

2шт.

3

25600622

HYDRAULIC HOSE,0.38" ID x 22.00", SAE 100R17

1шт.

4

25600655

HYDRAULIC HOSE,0.38" ID x 55.00", SAE 100R17

1шт.

5

25600655

HYDRAULIC HOSE,0.38" ID x 55.00", SAE 100R17

1шт.

6

25600678

HYDRAULIC HOSE,0.38" ID x 78.00", SAE 100R17

1шт.

7

06200125

HOSE CLAMP

2шт.

8

218-5183

TEE,3/4" - 16 Male JIC x 3/4" - 16 Male JIC x 3/4" - 16 Male ORB

1шт.

9

25405013

CONTROL VALVE,3/4" - 16 ORB x 3/4" - 16 JIC

Purple

2шт.

10

218-5106

90 ELBOW,90 Degree Elbow, 3/4" - 16 Male JIC x 3/4" - 16 Male ORB

5шт.

11

218-840

TEE,37 Degree, 3/4"-16 x 3/4"-16, Fem Sw Br

1шт.

12

413-624

BOLT,Hex, 3/8" - 16 x 1-1/2", Gr 5

2шт.

13

425-106

NUT,3/8"-16, Cl 5

2шт.

14

386170C1

CABLE TIE,.30" x 27 1/2"

CABLE STRAP 30, Hose

8шт.

Выбрано товаров: 16