Качественные детали и логистика
Оригинальные и аналоговые запчасти с доставкой по России, Казахстану и Беларуси
©2022 PartSell ООО "Система" ИНН 2463123282 ОГРН 1212400004838
Центральный офис: г. Красноярск, Академика Киренского, д.87, пом.4
Телефон: 8 (800) 777-65-74 Email: zakaz@partsell.ru
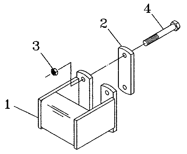
(39.100.07) - SIDEDRESS BRACKET
№
Артикул
Название
Примечание
Количество
P5430400
KIT
Sidedress With Hardware
1шт.
1
87339126
FRAME ASSY
Sidedress
2
09576757
STRAP
2шт.
3
425-1014
NUT,7/8"-9, G5
4шт.
4
413-14104
BOLT,Hex, 7/8" - 9 x 6-1/2", Gr 5
Выбрано товаров: 0