Запчасти Case IH 3100 (35.850.01) - 1 1/4" QUIC-COUPLER (35) - HYDRAULIC SYSTEMS

Схема запчастей Case IH 3100 - (35.850.01) - 1 1/4" QUIC-COUPLER (35) - HYDRAULIC SYSTEMS
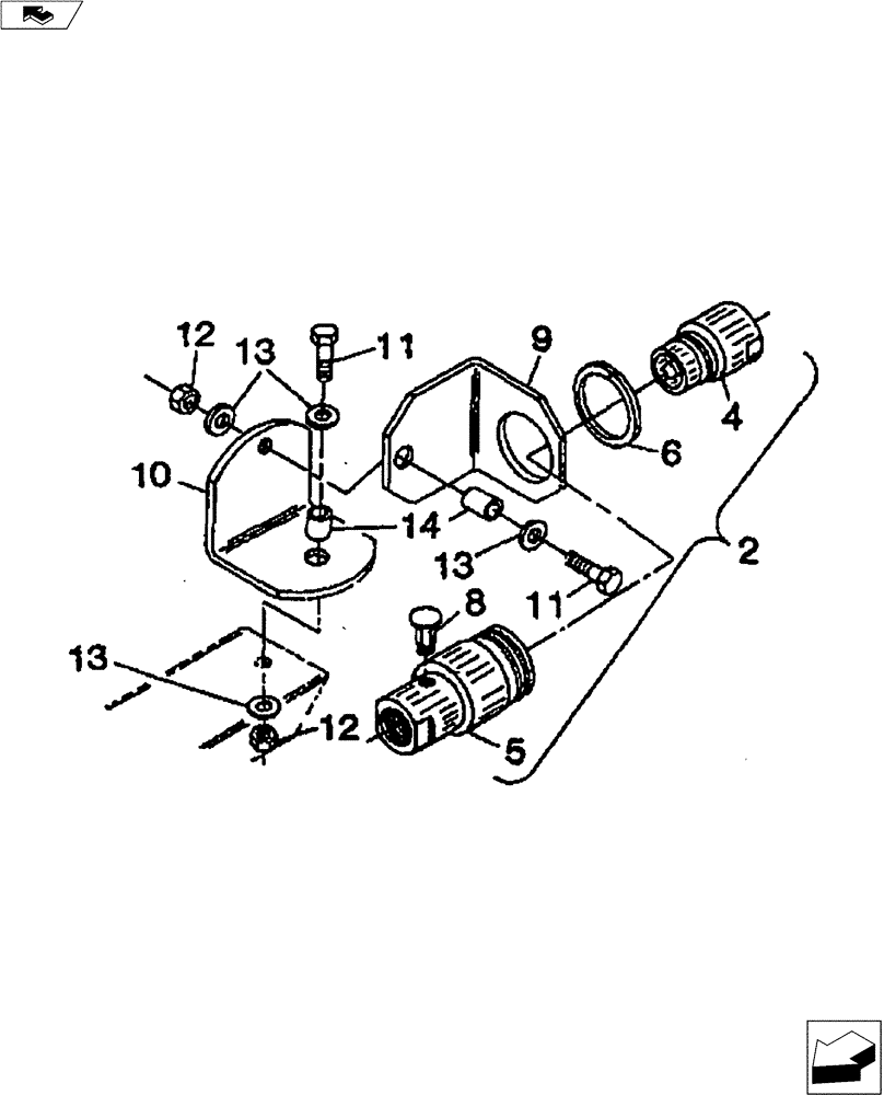
2
8
9
14
11
4
12
6
10
11
5
13
12
13
13
FIT
1:1
100%

Артикул

Название

Примечание

Количество

2

02600040

FITTING

1-1/4" Quic - Coupler Assembly With Bracket, Includes Ref. 4, 5, 6, 9-14

1шт.

3

34410031

1-1/4" Coupler, Includes Ref. 4 & 5 (Not Shown)

1шт.

4

34410032

QUICK MALE COUPLING

1-1/4" - Male

1шт.

5

34410033

QUICK MALE COUPLING

1-1/4" - Female

1шт.

6

103-11250

SNAP RING,#250, Ext

1шт.

7

34410034

O-RING KIT

Kit (Consists of 2 O-Rings) (Not Shown)

1шт.

8

34202001

1/4" NPT Bleeder

1шт.

9

02628012

STAND

Upper Swivel Bracket, Includes Ref. 11-14

1шт.

10

02138100

BAR ASSY.

Lower Swivel Bracket with Bushing

1шт.

11

413-824

BOLT,Hex, 1/2" - 13 x 1-1/2", Gr 5

NC Cap Screw

2шт.

12

231-4248

NUT,1/2"-13, GB

NC Hex.

2шт.

13

495-21056

WASHER,1/2"

4шт.

14

02138110

SPACER

Pipe

2шт.

Выбрано товаров: 13