Запчасти Case IH 3100 (75.200.02) - HEAVY DUTY SPRING C-S MOUNT (75) - SOIL PREPARATION

Схема запчастей Case IH 3100 - (75.200.02) - HEAVY DUTY SPRING C-S MOUNT (75) - SOIL PREPARATION
2
5
8
11
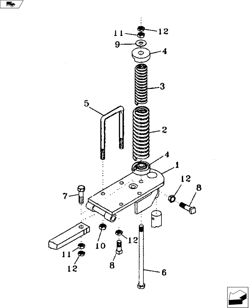
1
3
12
6
8
9
4
11
12
12
7
12
4
10
FIT
1:1
100%

Артикул

Название

Примечание

Количество

04665060

SPRING

H.D. C-S Mounting 4" x 4" with Hardware (Not Shown)

1шт.

1

04665510

MOUNTING PARTS

C-S Spring

1шт.

2

24162504

COMPRESSION SPRING

4-1/16" O .D.

1шт.

3

24143812

COMPRESSION SPRING

2-1/2" O.D.

2шт.

4

20090120

SPRING BOX

Double, Casting

2шт.

5

87427161

U-BOLT

BOLT "U" 5/8" X 4" X 5-1/2"

2шт.

5

87427170

U-BOLT

BOLT "U" 5/8" X 4" X 8"

2шт.

6

16912606

BOLT

3/4" X 15" NC Hex.

1шт.

7

413-1248

BOLT,Hex, 3/4" - 10 x 3", Gr 5

NC HHCS

1шт.

8

NSS

NOT SOLD SEPARAT

3/4" x 2" Sq. Hd. Set Screw

2шт.

9

425-1010

NUT,5/8"-11, G5

NC Hex.

4шт.

10

425-1012

NUT,3/4"-10, G5

NC Hex.

2шт.

11

425-1412

JAM NUT,Jam, 3/4"-10, G5

NC Hex.

4шт.

12

425-1412

JAM NUT,Jam, 3/4"-10, G5

NC Hex.

4шт.

Выбрано товаров: 14