Качественные детали и логистика
Оригинальные и аналоговые запчасти с доставкой по России, Казахстану и Беларуси
©2022 PartSell ООО "Система" ИНН 2463123282 ОГРН 1212400004838
Центральный офис: г. Красноярск, Академика Киренского, д.87, пом.4
Телефон: 8 (800) 777-65-74 Email: zakaz@partsell.ru
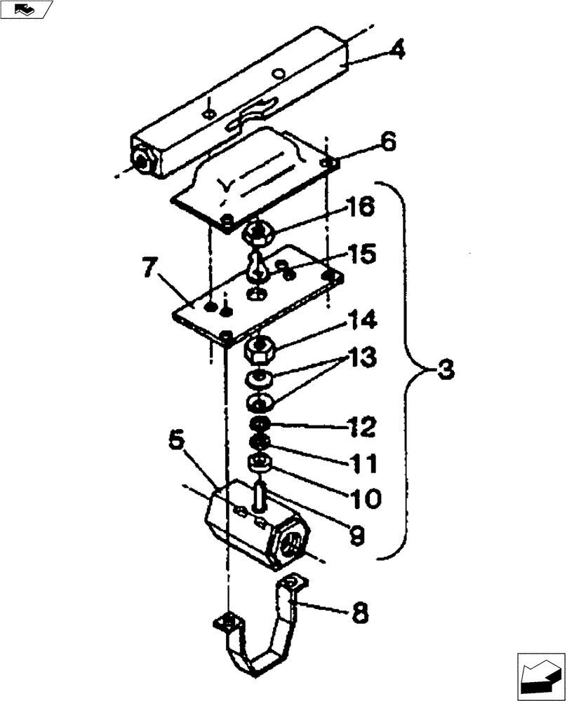
(35.100.04) - 1 1/4" GROMO III SHUT-OFF
№
Артикул
Название
Примечание
Количество
1
34210300
1-1/4" Gromo lll, Includes Ref. 4-16 (Not Shown)
1шт.
2
34210301
KIT
Seal (Not Shown)
3
34210302
STEM
Kit , Includes Ref. 9-16
Выбрано товаров: 0