Запчасти Case IH 3250 (75.200.03) - INLINE TRANSPORT (09) - CHASSIS/ATTACHMENTS

Схема запчастей Case IH 3250 - (75.200.03) - INLINE TRANSPORT (09) - CHASSIS/ATTACHMENTS
27
6
27
23
24
24
23
20
21
7
4
6
29
3
8
28
10
5
33
32
25
2
1
31
27
31
22
28
27
3
23
30
27
28
27
24
26
27
9
FIT
1:1
100%

Артикул

Название

Примечание

Количество

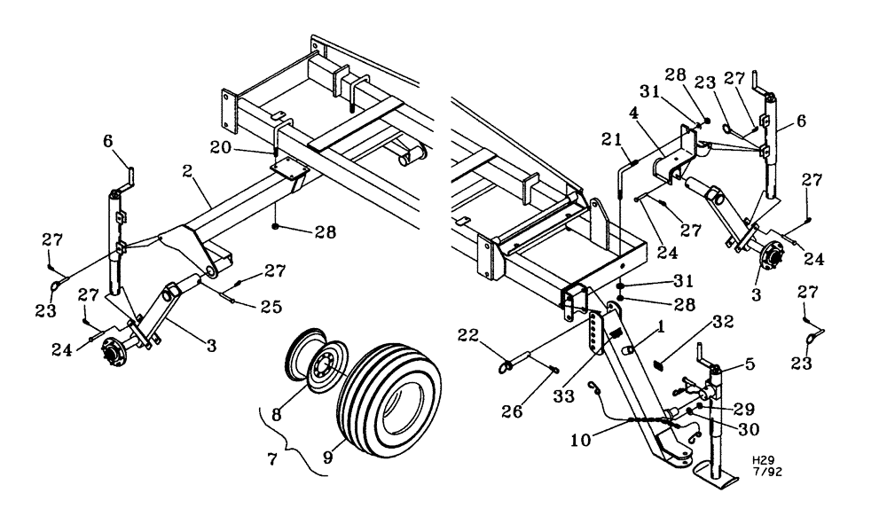
1

02391400

HITCH

Inline

1шт.

2

02391410

BEAM ASSY.

Transport Inline

1шт.

3

02391420

ARM

Spindle, 710 Hub

2шт.

4

02391430

BRACKET

Gauge Wheel, RH

1шт.

4

02391440

BRACKET

Gauge Wheel, LH

1шт.

5

32230000

JACK

5000 lb

1шт.

6

32253000

JACK ASSY.

5000 Lb, Inline

2шт.

7

10010250

LAND WHEEL

9.5 x 15, Tire

2шт.

8

10108254

WHEEL

8 x 15, 6 Hole

2шт.

9

NSS

NOT SOLD SEPARAT

9.5 x 15, 8 Ply

2шт.

10

01059080

CHAIN

1/4 x 90, With Hooks

1шт.

20

87427182

U-BOLT

BOLT "U" 3/4 x 4 x 8, Square

4шт.

21

87427191

SPECIAL BOLT

3/4 x 5.69 x 8.19

2шт.

22

14816660

CLEVIS PIN

1 x 7.30, EL

2шт.

23

14810095

SPECIAL PIN

Jack

2шт.

24

14810280

CLEVIS PIN

5/8 x 4-1/4, EL

6шт.

25

14810251

HEADED PIN,15.88mm OD x 96.77mm L

5/8 x 3-1/8, EL

2шт.

26

1978738C1

HAIR PIN COTTER

Split 3/16" x 3

2шт.

27

14720411

COTTER PIN

PIN, COTTER Split 1/8 x 2, Hair

10шт.

28

425-1012

NUT,3/4"-10, G5

Hex.

12шт.

29

425-106

NUT,3/8"-16, Cl 5

Hex.

1шт.

30

495-21044

WASHER,3/8"

1шт.

31

17413011

WASHER

13/16 x 1/4

4шт.

32

18534190

DECAL

Caution

1шт.

33

18531001

DECAL

DMI

1шт.

Выбрано товаров: 25