Запчасти Case IH 4200 II (44.100.03) - 803 HUB & SPINDLE ASSY (44) - WHEELS

Схема запчастей Case IH 4200 II - (44.100.03) - 803 HUB & SPINDLE ASSY (44) - WHEELS
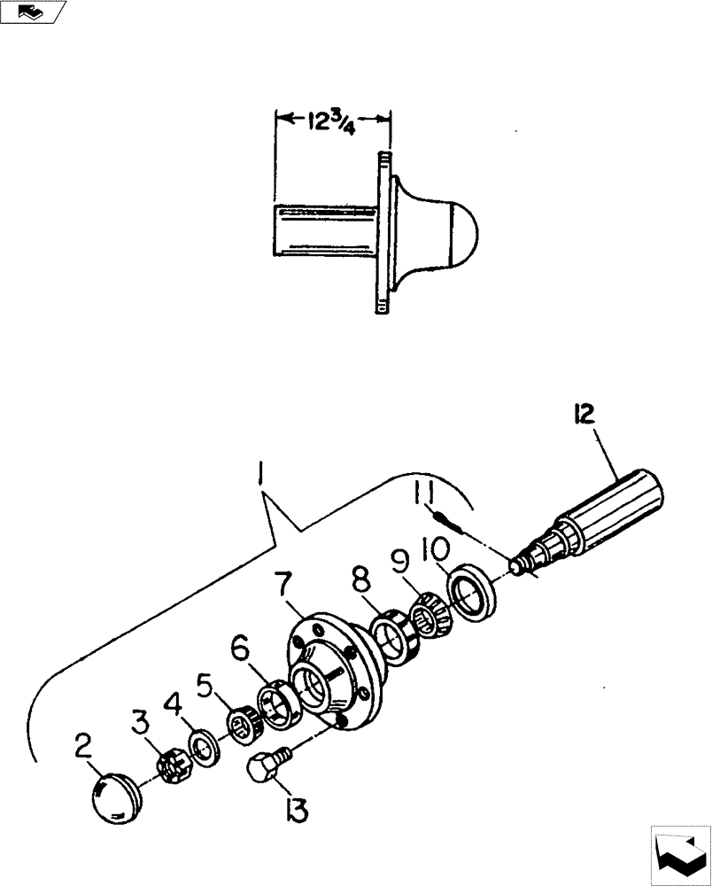
13
10
9
6
7
2
8
4
1
12
11
3
5
FIT
1:1
100%

Артикул

Название

Примечание

Количество

1

28180300

HUB ASSY.

803 6-Bolt

1шт.

2

28480300

CAP

Dust

1шт.

3

NSS

NOT SOLD SEPARAT

7/8NF Slotted Hex. Nut

1шт.

4

NSS

NOT SOLD SEPARAT

7/8 S.A.E. Washer

1шт.

5

21871381

BEARING CONE

1.375Ø Bore Timken No. 25877

1шт.

6

21882880

BEARING CUP

2.875Ø Timken No.25821

1шт.

7

NSS

NOT SOLD SEPARAT

6-Bolt Hub

1шт.

8

21883270

BEARING CUP

3.270Ø Timken No. 25520

1шт.

9

21871800

BEARING CONE

1.800Ø Bore Timken No.25590

1шт.

10

21932000

SEAL

2.00 ID x 3.625 OD CR521430

1шт.

11

NSS

NOT SOLD SEPARAT

5/32Ø Cotter Pin x 1-1/2 Lg.

1шт.

12

NSS

NOT SOLD SEPARAT

Spindle

1шт.

13

16409053

SPECIAL BOLT

9/16NF x 1-1/8 Lg. Lug

6шт.

14

28080301

(Not Shown)

1шт.

Выбрано товаров: 14