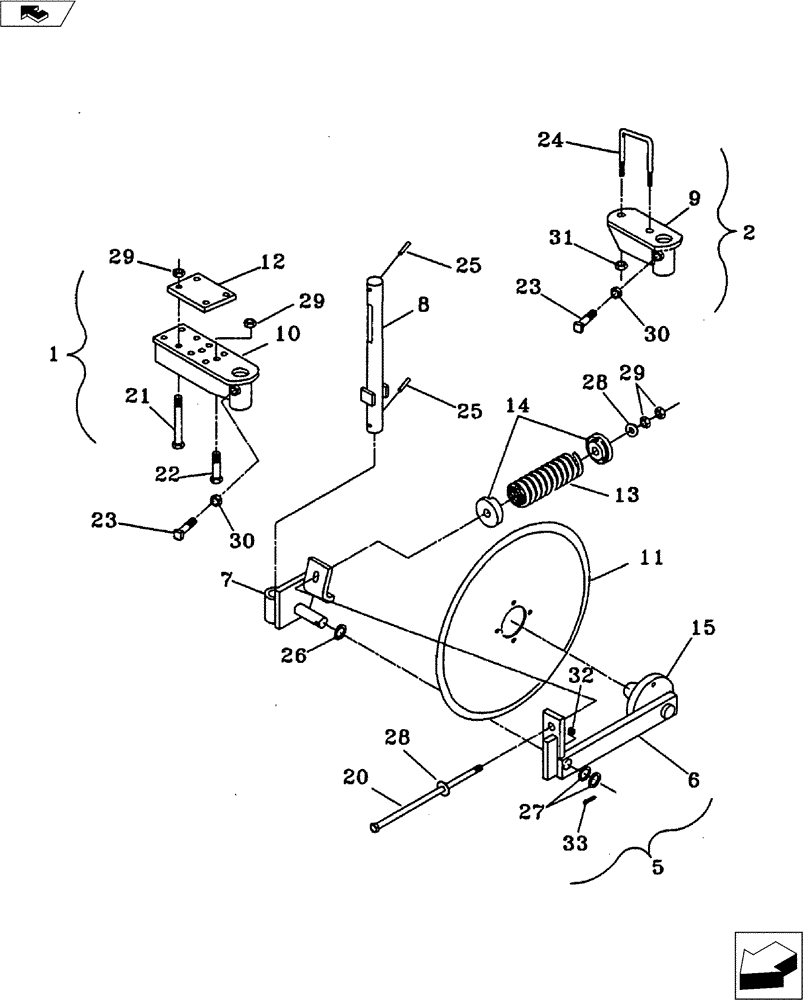
Запчасти Case IH 4250 (75.200.13) - 20" & 24" SPRING COLTER (75) - SOIL PREPARATION

Схема запчастей Case IH 4250 - (75.200.13) - 20" & 24" SPRING COLTER (75) - SOIL PREPARATION
29
15
28
12
32
11
24
23
23
33
30
22
28
7
26
14
1
31
10
21
2
29
20
25
13
29
5
9
30
25
8
27
FIT
1:1
100%

Артикул

Название

Примечание

Количество

1

04663500

C-S Mount With Hardware 20" Colter

1шт.

2

04663400

BAR ASSY.

Std. Mount With Hardware 20" & 24" Colter

1шт.

3

04663600

BAR ASSY.

20" Colter Assy. less Mount, Includes Ref. 5,8,11 (Not Shown)

1шт.

4

04663700

COULTER

24" less Mount, Includes Ref. 5,8,11 (Not Shown)

1шт.

5

04663000

BAR ASSY.

20" Colter

1шт.

5

04663050

COULTER

24" Arm Assy.

1шт.

6

04663100

BAR ASSY.

Colter Arm 20"

1шт.

6

04663300

SUPPORT

Colter Arm 24"

1шт.

7

04663200

BAR ASSY.

Colter Pivot

1шт.

8

04663150

BAR ASSY.

Colter 20"

1шт.

8

04663140

SHAFT

Colter 24"

1шт.

9

04663410

BAR ASSY.

Standard Mount

1шт.

10

04663510

Colter C-S Mount

1шт.

11

33502042

PLOW DISC

20" Colter Mount

1шт.

11

33502442

PLOW DISC

24" Colter Blade

1шт.

12

02365140

PLATE

Top

1шт.

13

24143880

COMPRESSION SPRING

20" Colter

1шт.

13

24156205

COIL SPRING

Compression 24" Colter

1шт.

14

20090050

HOLDER

Spring Casting

2шт.

15

28063321

HUB ASSY.

633 Spindle - 20" & 24" Colter (See Fig. 44.100.01)

1шт.

20

16010440

5/8" x 11" NC Hex. - 20" Colter

1шт.

20

16010540

BOLT

5/8" x 13-1/2" Hex. - 24" Colter

1шт.

21

16010365

5/8" x 9" NC Hex. Gd. 5

4шт.

22

16010105

BOLT

5/8" x 2-1/2" NC Hex. Gd. 5

1шт.

23

16812084

SET SCREW,3/4" - 10 x 2"

3/4" x 2" NC Sq. HD Set

1шт.

24

16312020

U-BOLT

BOLT "U" 3/4" x 4" x 8"

2шт.

25

14741412

ROLL PIN

7/16" x 2-1/2"

2шт.

26

17620030

WASHER,32.15mm ID x 47.63mm OD x 10mm Thk

1-1/4" Mach. 10 Ga.

1шт.

27

17620020

BUSHING,32.15mm ID x 47.63mm OD x 2.08mm L

1-1/4" Mach. 14 Ga.

2шт.

28

17411012

WASHER

5/8" x 1/4" Thk.

2шт.

29

NSS

NOT SOLD SEPARAT

5/8" NC Hex. Nut

5шт.

30

NSS

NOT SOLD SEPARAT

3/4" NC Jam Nut

1шт.

31

NSS

NOT SOLD SEPARAT

3/4" NC Hex. Nut

4шт.

32

NSS

NOT SOLD SEPARAT

1/8" NPT Grease Zerk

1шт.

33

NSS

NOT SOLD SEPARAT

1/4" x 1-1/2" Cotter Pin

1шт.

Выбрано товаров: 35