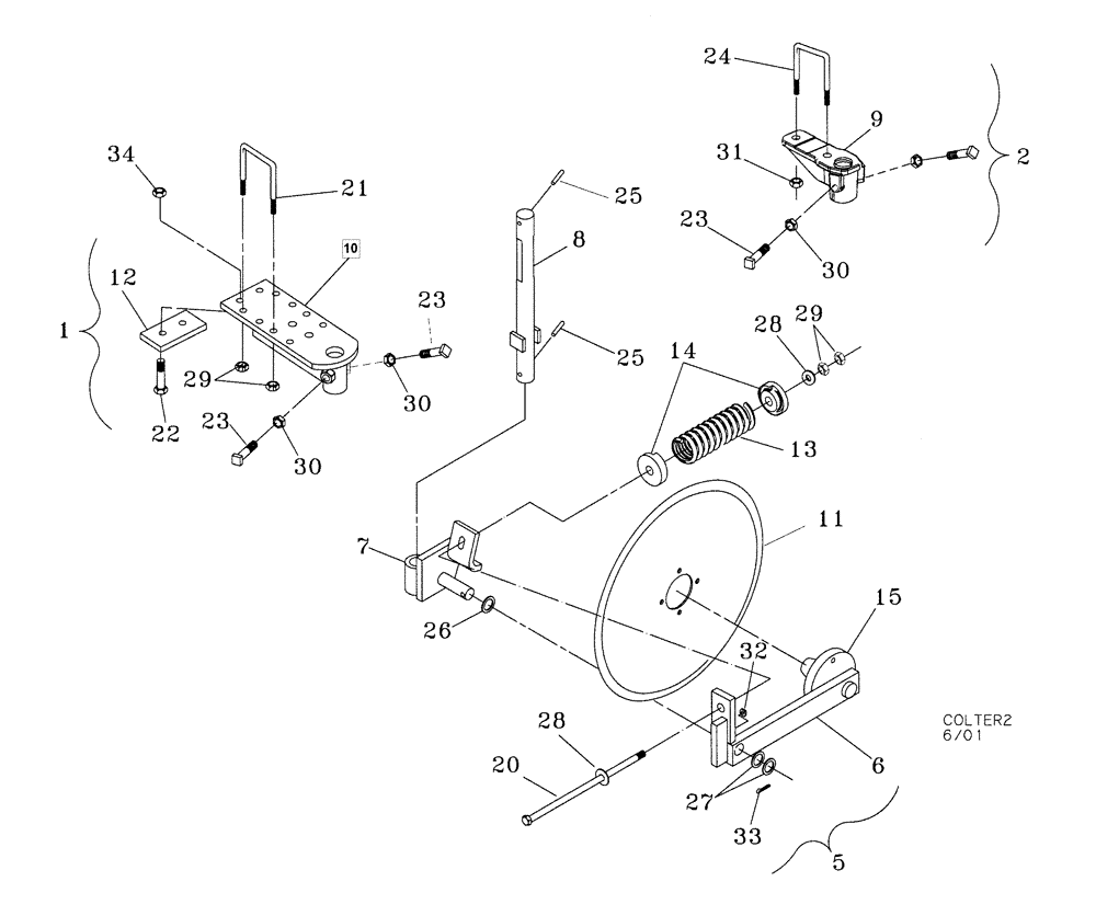
Запчасти Case IH 4300 (75.200.01) - 20" & 24" SPRING COULTER (09) - CHASSIS/ATTACHMENTS

Схема запчастей Case IH 4300 - (75.200.01) - 20" & 24" SPRING COULTER (09) - CHASSIS/ATTACHMENTS
33
29
12
28
1
11
25
6
23
9
30
5
27
13
24
22
15
14
21
32
8
31
30
20
34
7
28
2
25
26
29
30
10
23
23
FIT
1:1
100%

Артикул

Название

Примечание

Количество

1

87385594

MOUNTING PARTS

20, Rigid C-S Mountout with Hardware

1шт.

2

P6466340

KIT

24, Standard Mount with Hardware

1шт.

3

04663000

BAR ASSY.

20, Arm Assembly Less Blade And Shaft

1шт.

4

04663050

COULTER

24, Arm Assembly Less Blade And Shaft

1шт.

5

04663000

BAR ASSY.

20, Coulter Arm

1шт.

5

04663050

COULTER

24, Arm

1шт.

6

04663100

BAR ASSY.

20, Coulter

1шт.

6

04663300

SUPPORT

24, Coulter

1шт.

7

04663200

BAR ASSY.

Pivot

1шт.

8

87385591

SHAFT

20, Coulter

1шт.

8

87583308

SHAFT

22, Coulter

1шт.

For 2007 Models And After

1шт.

8

04663160

SHAFT

24

1шт.

9

04663410

BAR ASSY.

Standard

1шт.

9

87460812

MOUNTING PARTS

Casting

1шт.

For 2007 Models And After

1шт.

10

04663000

BAR ASSY.

Coulter, C-S 20"

1шт.

10

87385594

MOUNTING PARTS

C-S, Rigid,

1шт.

Supplied By Fertilizer Distributor

1шт.

11

443626A1

PLOW DISC

20 Coulter

1шт.

11

443638A1

PLOW DISC

24 Coulter

1шт.

12

09236000

CLAMP

Plate

1шт.

13

24143880

COMPRESSION SPRING

20, Coulter

1шт.

13

24156205

COIL SPRING

24, Compression

1шт.

14

20090050

HOLDER

Spring

2шт.

15

28063331

HUB ASSY.

633, With Spindle

1шт.

20

87439266

BOLT,Hex, 5/8" - 11 x 12", Gr 5, Spcl

20 Coulter

1шт.

20

413-10216

BOLT,Hex, 5/8" - 11 x 13-1/2", Gr 5

24 Coulter

1шт.

21

87427170

U-BOLT

BOLT "U" 5/8 x 4 x 8

2шт.

22

413-1048

BOLT,Hex, 5/8" - 11 x 3", Gr 5

1шт.

23

16812084

SET SCREW,3/4" - 10 x 2"

3/4 x 2, Square head

1шт.

24

87427182

U-BOLT

BOLT "U" 3/4 x 4 x 8

2шт.

25

438-32840

PIN,11.1mm OD x 63.5mm L

Roll

2шт.

26

17620030

WASHER,32.15mm ID x 47.63mm OD x 10mm Thk

1-1/4, 10 Gauge, Machine

1шт.

27

17620020

BUSHING,32.15mm ID x 47.63mm OD x 2.08mm L

1-1/4, 14 Gauge, Machine

2шт.

28

495-81028

WASHER,21/32" x 1 1/2" x .240"

2шт.

29

425-1010

NUT,5/8"-11, G5

Hex.

5шт.

30

425-1412

JAM NUT,Jam, 3/4"-10, G5

1шт.

31

425-1012

NUT,3/4"-10, G5

Hex.

4шт.

32

219-86

LUBE NIPPLE,1/8" NPTF

1шт.

33

432-1624

COTTER PIN,1/4" x 1 1/2"

Split

1шт.

34

85700693

NUT,5/8" - 11, Gr C

2шт.

Выбрано товаров: 42