Запчасти Case IH 4300 (75.200.02) - HEAVY DUTY SPRING AND RIGID SHANK (09) - CHASSIS/ATTACHMENTS

Схема запчастей Case IH 4300 - (75.200.02) - HEAVY DUTY SPRING AND RIGID SHANK (09) - CHASSIS/ATTACHMENTS
28
31
25
23
21
22
6
23
3
28
23
10
22
28
8
1
29
20
24
9
29
22
4
5
27
25
30
7
26
4
FIT
1:1
100%

Артикул

Название

Примечание

Количество

P0466018

KIT

4 x 6, Rigid with Hardware

1шт.

04665090

MOUNTING PARTS

4 x 6, Spring, HD with Hardware

1шт.

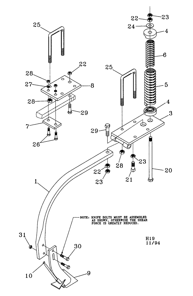
1

33020017

SHANK

Side Mount

1шт.

2

04665400

MOUNTING PARTS

Spring, HD

1шт.

3

04665410

MOUNTING PARTS

Spring, HD

1шт.

4

20090120

SPRING BOX

Double

2шт.

5

24162504

COMPRESSION SPRING

4-1/16 OD

1шт.

6

24143812

COMPRESSION SPRING

2-1/2 OD

1шт.

7

09236000

CLAMP

Plate

1шт.

8

04620510

PLATE

1шт.

9

NSS

NOT SOLD SEPARAT

Knife Forward Swept

1шт.

10

214-1406

HOSE CLAMP,#06, 0.44" - 0.78", Type F Worm

2шт.

11

22510803

CLIP

Hose

1шт.

20

16912606

BOLT

3/4 x 15

1шт.

21

16812084

SET SCREW,3/4" - 10 x 2"

3/4 x 2, Square Head

1шт.

22

425-1012

NUT,3/4"-10, G5

Hex

1шт.

23

425-1412

JAM NUT,Jam, 3/4"-10, G5

1шт.

24

495-21081

WASHER,3/4"

1шт.

25

87427161

U-BOLT

BOLT "U" 5/8 x 4 x 5-1/2

2шт.

25

87427170

U-BOLT

BOLT "U" 5/8 x 4 x 8

2шт.

26

424-1048

BOLT,Hex, 5/8" - 11 x 3", Gr 2

2шт.

27

492-11062

BEARING WASHER,5/8"

11 G5, Hex.

2шт.

28

425-1010

NUT,5/8"-11, G5

Hex.

1шт.

29

413-1248

BOLT,Hex, 3/4" - 10 x 3", Gr 5

1шт.

30

413-832

BOLT,Hex, 1/2" - 13 x 2", Gr 5

2шт.

31

425-108

NUT,1/2" - 13, Gr 5

Hex.

2шт.

Выбрано товаров: 26