Запчасти Case IH 5250 (75.200.01) - TRU-TRAKR (75) - SOIL PREPARATION

Схема запчастей Case IH 5250 - (75.200.01) - TRU-TRAKR (75) - SOIL PREPARATION
31
25
34
21
7
29
12
3
24
28
8
23
4
26
27
2
32
25
5
10
20
6
22
12
12
30
11
9
31
30
27
1
FIT
1:1
100%

Артикул

Название

Примечание

Количество

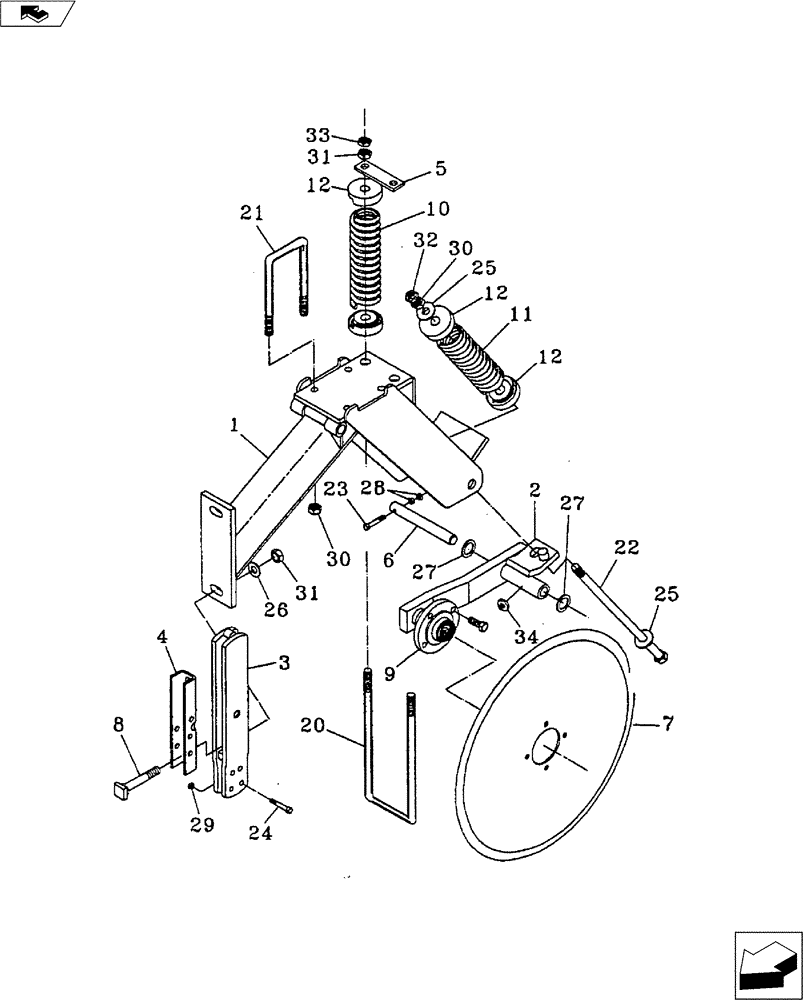
1

05202000

TRACK ASSY

1шт.

2

05201205

PIVOTING ARM

with Hub

1шт.

3

05202100

BRACKET

Knife

1шт.

4

05201190

BRACKET

Uni-Seal

1шт.

5

09007000

BAR

Spacer Plate Painted

1шт.

6

05201700

ROD

Pin

1шт.

7

33502042

PLOW DISC

20" Colter

1шт.

8

05202200

BOLT

3/4" x 5" Retainer

2шт.

9

28063321

HUB ASSY.

633 (See Fig. 44.100.01 for Parts List)

1шт.

10

24156205

COIL SPRING

Compression (11 Coils)

2шт.

11

24156201

COMPRESSION SPRING

(8 Coils)

1шт.

12

20090050

HOLDER

Spring Castings

6шт.

20

16312050

U-BOLT

3/4" NC x 12-3/4"

1шт.

21

16310050

U-BOLT

5/8" NC x 4" x 8"

2шт.

22

16010490

BOLT

5/8" NC x 12" Hex.

1шт.

23

NSS

NOT SOLD SEPARAT

5/16" x 2" NC Hex. Bolt Gd. 5

1шт.

24

NSS

NOT SOLD SEPARAT

1/2" x 2" NC Hex. Bolt Gd. 2

2шт.

25

NSS

NOT SOLD SEPARAT

11/1 6" I.D. x 1-3/4" O.D. x 1/4" Washer

2шт.

26

NSS

NOT SOLD SEPARAT

13/16" I.D. x 1-3/4"0.D. x 1/4" Washer

2шт.

27

17616020

WASHER

1" Machine Bushing 14 Ga.

2шт.

28

NSS

NOT SOLD SEPARAT

5/16" NC Hex. Nut

2шт.

29

NSS

NOT SOLD SEPARAT

1/2" NC Hex. Nut

2шт.

30

NSS

NOT SOLD SEPARAT

5/8" NC Heavy Hex. Nut

5шт.

31

NSS

NOT SOLD SEPARAT

3/4" NC Hex. Nut

4шт.

32

NSS

NOT SOLD SEPARAT

5/8" NC Hex. Jam Nut

1шт.

33

NSS

NOT SOLD SEPARAT

3/4" NC Hex. Jam Nut

2шт.

34

15302005

FITTING

1/8" NPT Grease Zerk

1шт.

35

18534251

DECAL

Tru-Trak'r (Not Shown)

1шт.

Выбрано товаров: 28