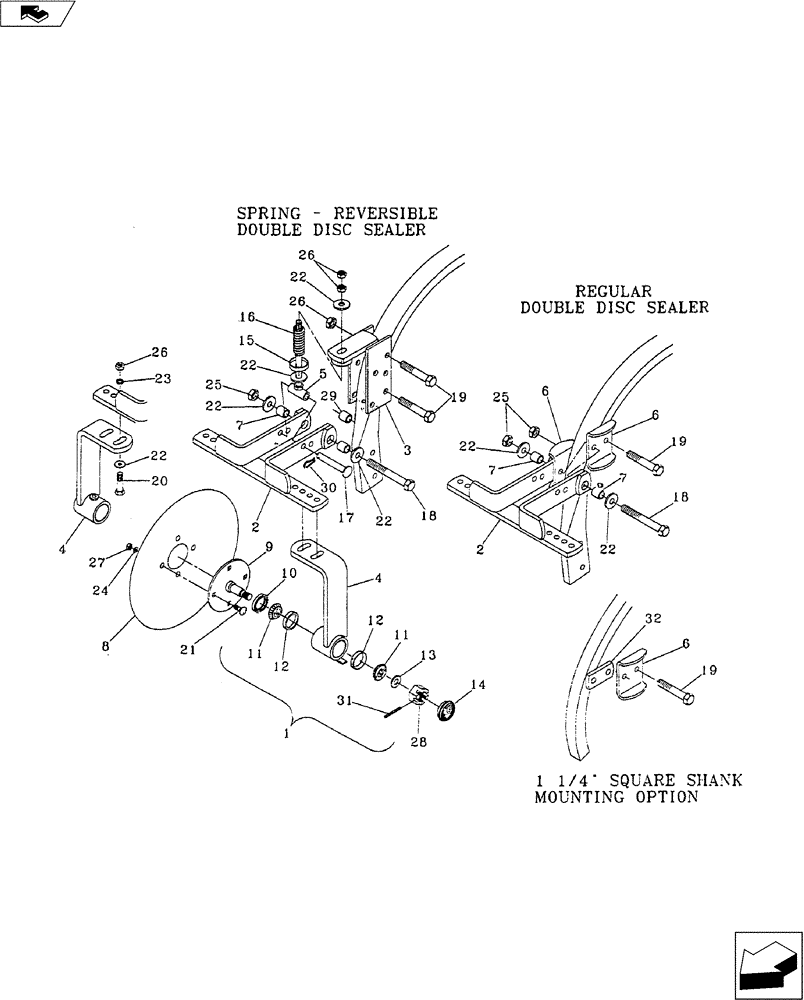
Запчасти Case IH 5250 (75.200.14) - REGULAR DOUBLE DISC AND REVERSIBLE SPRING DOUBLE DISC SEALERS (75) - SOIL PREPARATION

Схема запчастей Case IH 5250 - (75.200.14) - REGULAR DOUBLE DISC AND REVERSIBLE SPRING DOUBLE DISC SEALERS (75) - SOIL PREPARATION
2
22
3
4
18
7
6
12
26
29
13
14
28
15
25
26
19
22
2
17
9
26
24
19
27
11
8
21
20
32
23
31
16
22
10
7
7
11
6
22
19
22
30
22
25
22
4
12
18
5
1
6
FIT
1:1
100%

Артикул

Название

Примечание

Количество

02400100

PLOW DISC

Spring (Not Shown)

1шт.

02330100

PLOW DISC

Regular (Not Shown)

1шт.

1

02325100

Sealer Assy.

1шт.

2

02335300

FRAME

Sealer

1шт.

3

02334000

BRACKET

1шт.

4

02325150

ARM

Sealer with Cups

1шт.

5

02333500

SUPPORT

1/2" Dia Spring Pivot Bolt

1шт.

6

02335120

SPACER

Shank (1" x 2" Shank)

2шт.

6

02335140

SPACER

Shank (1-1/4" Square Shank)

2шт.

7

02323100

BUSHING

2шт.

8

33551445

PLOW DISC

14" Blade

2шт.

9

04666410

Hub and Shaft

2шт.

10

21931000

SEAL

CR10035

2шт.

11

21870750

BEARING CONE

3/4" Bore LM11949

4шт.

12

21881780

BEARING CUP

1.781" OD LM11910

4шт.

13

17110001

WASHER

5/8" SAE

4шт.

14

28400400

DUST CAP

Grease

2шт.

15

17506010

CUP WASHER,13.49mm ID x 44.45mm OD x 1.59mm Thk

1шт.

16

24120701

COMPRESSION SPRING

1шт.

17

14808291

CLEVIS PIN,12.7mm OD x 127.45mm L

1/2" x 3-5/8 EL

1шт.

18

NSS

NOT SOLD SEPARAT

1/2" x 5" NC Hex. Bolt Gd. 5

1шт.

19

NSS

NOT SOLD SEPARAT

1/2" x 3-1/4" NC Hex. Bolt Gd. 5

2шт.

20

NSS

NOT SOLD SEPARAT

1/2" x 1-3/4" NC Hex. Bolt Gd.5

4шт.

21

NSS

NOT SOLD SEPARAT

3/8" x 3/4" NC Carriage Bolt

8шт.

22

NSS

NOT SOLD SEPARAT

1/2" Flat Washer

6шт.

23

NSS

NOT SOLD SEPARAT

1/2" Lock Washer

4шт.

24

NSS

NOT SOLD SEPARAT

3/8" Lock Washer

8шт.

25

NSS

NOT SOLD SEPARAT

1/2" Hex Lock Nut

2шт.

26

NSS

NOT SOLD SEPARAT

1/2'' Hex. Nut

8шт.

27

NSS

NOT SOLD SEPARAT

3/8" Hex. Nut

8шт.

28

14051003

NUT

5/8" NF Slotted

2шт.

29

02333410

TUBE,0.546" ID, 0.84" OD, 2" Length

Tube (Tru-Trakr only)

1шт.

30

NSS

NOT SOLD SEPARAT

1/8" x 2" Hair Pin

1шт.

31

NSS

NOT SOLD SEPARAT

1/8" x 1" Cotter Pin

1шт.

32

02321000

PLATE

Spacer (1-1/4" Sq. Shank)

2шт.

Выбрано товаров: 35