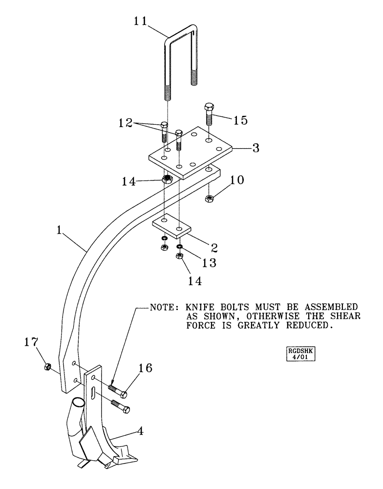
Запчасти Case IH 5310 (75.200.04) - RIGID SHANK (09) - CHASSIS/ATTACHMENTS

Схема запчастей Case IH 5310 - (75.200.04) - RIGID SHANK (09) - CHASSIS/ATTACHMENTS
3
13
12
16
4
14
11
1
17
10
14
2
15
FIT
1:1
100%

Артикул

Название

Примечание

Количество

P0466018

KIT

Rigid, 4" x 6," With Hardware

1шт.

1

33020017

SHANK

Side Mount

1шт.

2

09236000

CLAMP

Plate

1шт.

3

04620510

PLATE

1шт.

4

33607130

KNIFE

Strip Till, Dry & NH3 Combination

1шт.

4

33607135

KNIFE

Mole, NH3 Only

1шт.

10

425-1012

NUT,3/4"-10, G5

1шт.

11

87427170

U-BOLT

BOLT "U" 5/8" x 4" x 8"

2шт.

12

424-1048

BOLT,Hex, 5/8" - 11 x 3", Gr 2

NC

2шт.

13

492-11062

BEARING WASHER,5/8"

2шт.

14

425-1010

NUT,5/8"-11, G5

1шт.

15

413-1248

BOLT,Hex, 3/4" - 10 x 3", Gr 5

1шт.

16

413-832

BOLT,Hex, 1/2" - 13 x 2", Gr 5

2шт.

17

425-108

NUT,1/2" - 13, Gr 5

2шт.

Выбрано товаров: 14