Запчасти Case IH 5310 (35.106.04) - 1-1/4" QUICK COUPLER (35) - HYDRAULIC SYSTEMS

Схема запчастей Case IH 5310 - (35.106.04) - 1-1/4" QUICK COUPLER (35) - HYDRAULIC SYSTEMS
5
14
11
2
13
12
9
8
4
6
13
10
12
11
13
FIT
1:1
100%

Артикул

Название

Примечание

Количество

2

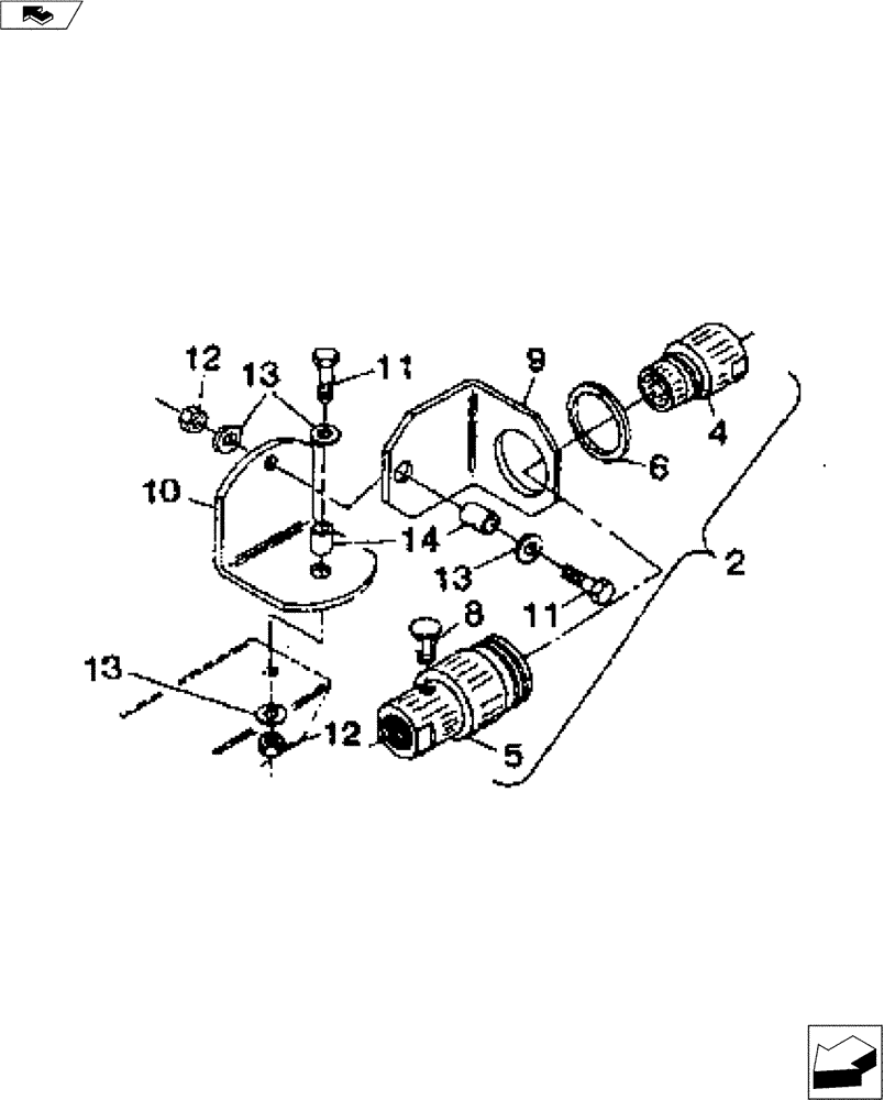
02600040

FITTING

1-1/4" Quick Coupler Assy. W/Bracket Includes Ref 4-6 & 9-14

1шт.

3

34410031

1-1/4", Includes Ref 4 - 5

1шт.

4

34410032

QUICK MALE COUPLING

1-1/4"

1шт.

5

34410033

QUICK MALE COUPLING

1-1/4" - Female

1шт.

6

14601250

1шт.

7

34410034

O-RING KIT

Gasket Kit (consists of (2) O-Rings)

1шт.

8

34202001

1/4" NPT

1шт.

9

02628011

Upper Includes Ref 11-14

1шт.

10

02138000

Lower W/Bushing

1шт.

11

NSS

NOT SOLD SEPARAT

1/2" x 1-1/2" NC Capscrew

2шт.

12

NSS

NOT SOLD SEPARAT

1/2" NC Hex Lock Nut

2шт.

13

NSS

NOT SOLD SEPARAT

1/2" Std. Washer

4шт.

14

02138110

SPACER

Pipe

2шт.

Выбрано товаров: 0