Запчасти Case IH 5310 (44.100.03) - WING WALKING AXLE ASSEMBLY (12 ROW OPTIONAL) & 16 ROW (09) - CHASSIS/ATTACHMENTS

Схема запчастей Case IH 5310 - (44.100.03) - WING WALKING AXLE ASSEMBLY (12 ROW OPTIONAL) & 16 ROW (09) - CHASSIS/ATTACHMENTS
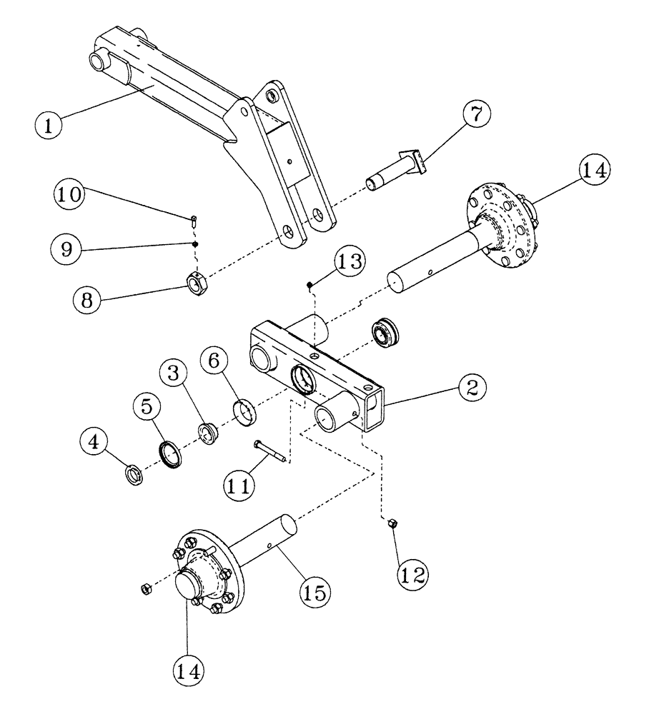
14
1
7
10
11
8
3
2
5
9
6
4
12
13
15
14
FIT
1:1
100%

Артикул

Название

Примечание

Количество

1

04683230

LIFT ARM

Spindle

1шт.

2

87429490

AXLE

Walking, Rh

1шт.

2

87429491

AXLE

Walking, Lh

1шт.

3

21871501

BEARING CONE,38.1mm ID x 25.65mm W

1.50, Timken #2776

2шт.

4

06400573

SPACER

2шт.

5

21932510

SEAL

2.29, CR#22870

2шт.

6

17498D

TAPERED BEARING," ID x 76.2125 mm OD x 23.9135 mm

3.00, Timken #2720

2шт.

7

04661850

PIN

Axle

1шт.

8

14032409

NUT

1-1/2, Jam

1шт.

9

425-146

JAM NUT,3/8" - 16, Gr 5

1шт.

10

16806045

SET SCREW,Sq Hd, 3/8" - 16 UNC x 1"

3/8 x 1

1шт.

11

413-864

BOLT,Hex, 1/2" - 13 x 4", Gr 5

2шт.

12

86992215

LOCK NUT,1/2"-13, GC

2шт.

13

219-86

LUBE NIPPLE,1/8" NPTF

1шт.

14

87429533

STUB AXLE/STEERING S

50-8 Hub And Spindle, 20.15 Spindle Length

1шт.

14

87429536

STUB AXLE/STEERING S

50-8 Hub And Spindle, 15.90 Spindle Length

1шт.

15

87429532

STUB AXLE/STEERING S

50-8, 20.15 Length

1шт.

15

87429535

STUB AXLE/STEERING S

50-8, 15.90 Length

1шт.

Выбрано товаров: 18