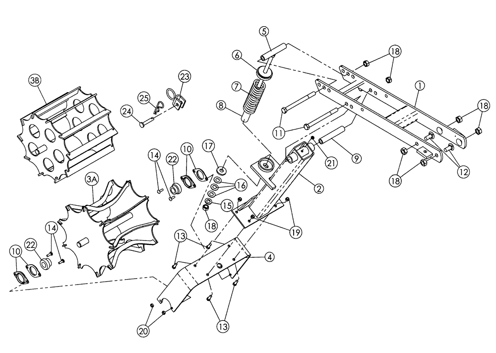
Запчасти Case IH 5310 (75.200.09) - BERM CONDITIONR 2006 MODEL AND PRIOR (09) - CHASSIS/ATTACHMENTS

Схема запчастей Case IH 5310 - (75.200.09) - BERM CONDITIONR 2006 MODEL AND PRIOR (09) - CHASSIS/ATTACHMENTS
3b
5
21
18
10
17
18
12
24
4
11
6
7
14
15
3a
13
22
25
18
14
19
18
23
9
13
16
1
8
20
22
10
2
FIT
1:1
100%

Артикул

Название

Примечание

Количество

1

04691580

ARM

Upper

1шт.

2

04691590

ARM

Lower

1шт.

3a

04691565

BASKET ASSY

1шт.

3b

87407861

BASKET ASSY

Flat Bar

1шт.

4

04691555

BRACKET

Basket

1шт.

5

04691595

SPECIAL BOLT

Pivot

1шт.

6

87395343

SPRING CUP

1шт.

7

24131202

COMPRESSION SPRING

1шт.

8

09662004

TUBE

1шт.

9

04691597

TUBE,0.656" ID, 1" OD, 5.69" Length

Inner

1шт.

10

86548974

FLANGE,Bearing

For One Inch Flange Bearing

4шт.

11

326-10120

BOLT,Hex, 5/8" - 11 x 7-1/2", Gr 8

2шт.

12

433-1024

CARRIAGE BOLT,Sq Nk, 5/8" - 11 x 1 1/2", Gr 5

4шт.

13

413-616

BOLT,Hex, 3/8" - 16 x 1", Gr 5

4шт.

14

434-516

CARRIAGE BOLT,Sht Sq Nk, 5/16" - 18 x 1", Gr 5

4шт.

15

17411011

WASHER,17.2mm ID x 32mm OD x 4.37mm Thk

5/8

1шт.

16

17511000

BELLEVILLE WASHER

11/16

3шт.

17

495-81028

WASHER,21/32" x 1 1/2" x .240"

1шт.

18

85700693

NUT,5/8" - 11, Gr C

7шт.

19

86992213

NUT

3/8

4шт.

20

86992212

NUT

5/16

4шт.

21

219-86

LUBE NIPPLE,1/8" NPTF

1шт.

22

21801601

FLANGED BEARING,1" ID

Flange With Locking Collar

2шт.

23

04691569

LINKAGE YOKE

Basket Hold Up

1шт.

24

14808201

CLEVIS PIN

1/2 x 2-1/2, E.L. Clevis

1шт.

25

14720411

COTTER PIN

PIN, COTTER 1/8 x 2, Hair

1шт.

Выбрано товаров: 26