Запчасти Case IH 9000 (35.850.01) - 1-1/4" QUIC-COUPLER (35) - HYDRAULIC SYSTEMS

Схема запчастей Case IH 9000 - (35.850.01) - 1-1/4" QUIC-COUPLER (35) - HYDRAULIC SYSTEMS
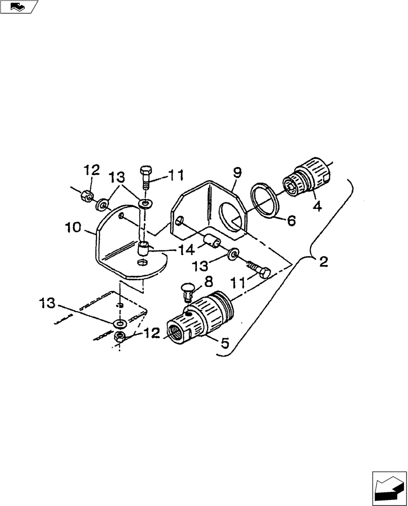
5
13
13
13
12
6
11
4
9
2
8
11
12
14
10
FIT
1:1
100%

Артикул

Название

Примечание

Количество

2

02600040

FITTING

1-1/4" Quic-Coupler Assembly with Bracket, Includes Ref. 4-6, 9-14

1шт.

4

34410032

QUICK MALE COUPLING

1-1/4" Coupler

1шт.

5

34410033

QUICK MALE COUPLING

1-1/4" Coupler - Female

1шт.

6

14601250

Retaining Ring

1шт.

7

34410034

O-RING KIT

Gasket (Not Shown)

1шт.

8

34202001

1/4" NPT Bleeder

1шт.

9

02628011

Upper Swivel Bracket, Includes Ref. 11-14

1шт.

10

02138000

Lower Swivel Bracket With Bushing

1шт.

11

413-824

BOLT,Hex, 1/2" - 13 x 1-1/2", Gr 5

NC

2шт.

12

231-4248

NUT,1/2"-13, GB

NC Hex.

2шт.

13

495-21056

WASHER,1/2"

Standard

4шт.

14

02138110

SPACER

Pipe

2шт.

14

34410034

O-RING KIT

Gasket Kit (Two O-Rings)

1шт.

Выбрано товаров: 13