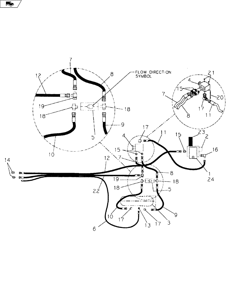
Запчасти Case IH 9000 (35.100.02) - SINGLE DRIVE HYDRAULICS (35) - HYDRAULIC SYSTEMS

Схема запчастей Case IH 9000 - (35.100.02) - SINGLE DRIVE HYDRAULICS (35) - HYDRAULIC SYSTEMS
5
9
8
20
10
6
18
17
9
15
12
4
14
16
18
5
8
19
18
3
7
17
1
11
2
15
17
24
22
19
11
8
4
17
7
7
21
15
10
12
23
18
13
FIT
1:1
100%

Артикул

Название

Примечание

Количество

1

25205001

HYDRAULIC MOTOR

1шт.

2

25205002

CHECK VALVE

Flow Control

1шт.

3

05401800

FAN

REM HE w/Rexroth Motor Assy.

1шт.

4

25401720

CONTROL VALVE

Selector 3-Way

1шт.

5

25401710

CHECK VALVE

1шт.

6

25610717

HYDRAULIC HOSE

3/8" x 150" Long

1шт.

7

25601218

HOSE

3/4" x 19" Long

1шт.

8

25601221

3/4" x 21" Long

1шт.

9

25601226

HOSE

3/4" x 26" Long

1шт.

10

25601232

3/4" x 32" Long

1шт.

11

25601265

HOSE

3/4" x 65" Long

1шт.

12

25601212

3/4" x 144" Long

1шт.

13

25705612

9/16" SAEM x 3/4" JICM

1шт.

14

218-5353

HYD CONNECTOR,1 1/16"-12, 37 Degree x 3/4"-16, O-Ring

SAEM JICM ST

2шт.

15

218-5064

HYD CONNECTOR,1-1/16" - 12 Male JIC x 1-1/16" - 12 Male ORB

SAEM x JICM

3шт.

16

218-5553

ELBOW,90 Degree Elbow, 1-1/16" - 12 Male JIC x 1-1/16" - 12 Male ORB

SAEM x JICM Long

1шт.

17

218-5108

ELBOW,90 Degree Elbow, 1-1/16" - 12 Male JIC x 1-1/16" - 12 Male ORB

SAEM x JICM

4шт.

18

218-5185

TEE,1-1/16" - 12 Male JIC x 1-1/16" - 12 Male JIC x 1-1/16" - 12 Male ORB

SAEM x (2) JICM

2шт.

19

218-5221

TEE,37 Degree, 1 1/16"-12 x 1 1/16"-12, Fem Sw Run

JICM (2) x SAEF Swivel

1шт.

20

413-648

BOLT,Hex, 3/8" - 16 x 3", Gr 5

2шт.

21

232-4146

NUT,3/8"-16, GC

Stover

2шт.

22

25601211

3/4" x 114" Long

1шт.

23

25845003

CONTROL VALVE

Cartridge

1шт.

24

25825003

WIPER SEAL

Motor to Valve Mount

1шт.

Выбрано товаров: 24