Запчасти Case IH 9000 (35.100.04) - CONTROL SYSTEM SINGLE OR DUAL DRIVE (35) - HYDRAULIC SYSTEMS

Схема запчастей Case IH 9000 - (35.100.04) - CONTROL SYSTEM SINGLE OR DUAL DRIVE (35) - HYDRAULIC SYSTEMS
13
8
7
1
12
3
6
11
9
16
15
4
14
10
FIT
1:1
100%

Артикул

Название

Примечание

Количество

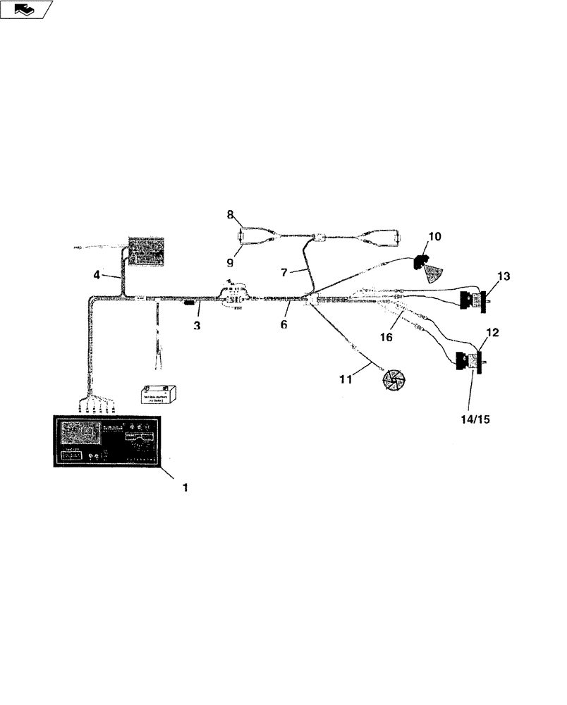
1

27701000

Mid-Tech TASC 6200

1шт.

2

27701131

Cab, Includes Items 3 & 4 (Not Shown)

1шт.

3

27701135

Cab (Flow Control)

1шт.

4

27701136

Cab (Sensor/Switch Box)

1шт.

5

27701152

Chassis, Includes Items 6 & 7 (Not Shown)

1шт.

6

27701153

Chassis

1шт.

7

27701134

Chassis, Includes Items 8 & 9

1шт.

8

27701137

DIODE

LED Assembly

1шт.

9

27701138

SENSOR

1шт.

10

27701112

Radar

1шт.

11

27701103

SENSOR

Fan

1шт.

12

27701111

SENSOR

Motor RPM

1шт.

13

25205001

HYDRAULIC MOTOR

1шт.

14

25205002

CHECK VALVE

Hydraulic (Complete Block)

1шт.

15

25845003

CONTROL VALVE

Replacement Cartridge

1шт.

16

27701154

L Divide By Four

1шт.

Выбрано товаров: 16