Запчасти Case IH 9000 (35.100.03) - CONTROL SYSTEM SINGLE OR DUAL DRIVE (35) - HYDRAULIC SYSTEMS

Схема запчастей Case IH 9000 - (35.100.03) - CONTROL SYSTEM SINGLE OR DUAL DRIVE (35) - HYDRAULIC SYSTEMS
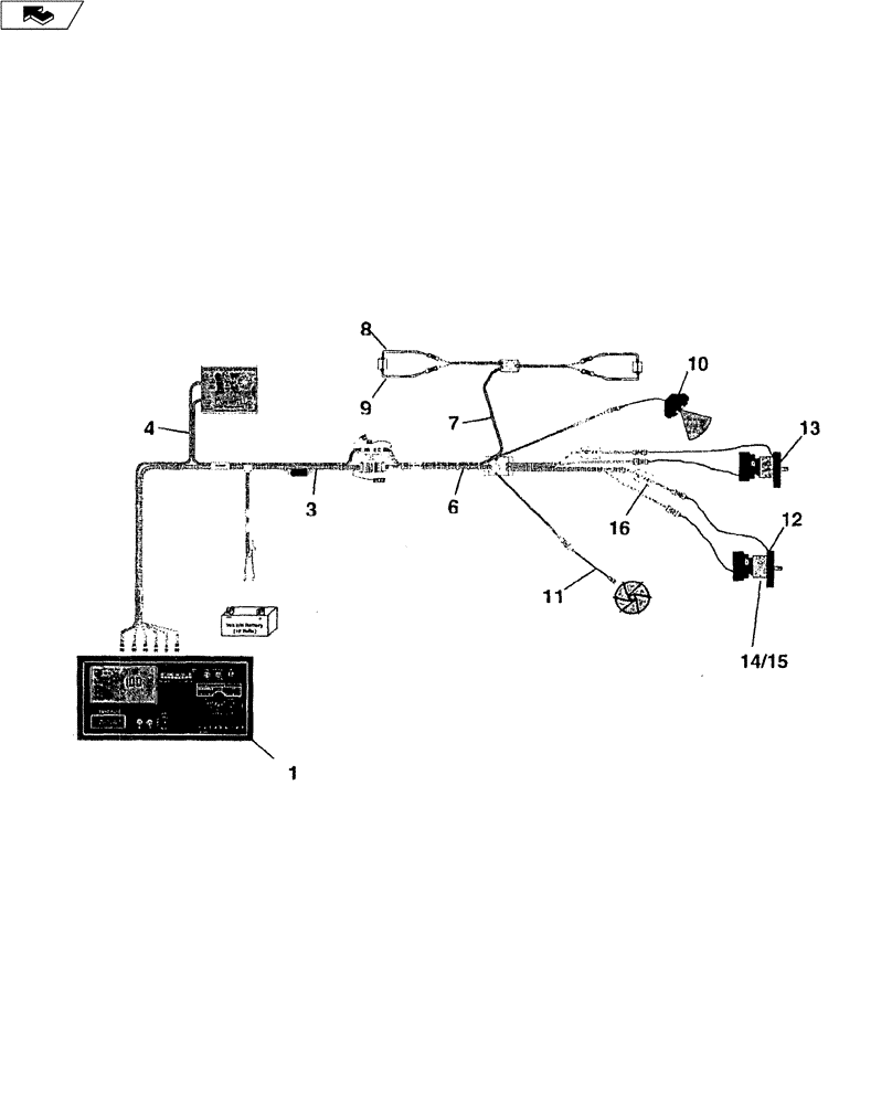
14/15
13
16
9
12
3
4
1
6
8
10
11
7
FIT
1:1
100%

Артикул

Название

Примечание

Количество

1

27701000

Mid-Tech TASC 6200

1шт.

2

27701131

Includes Ref 3 & 4 (Not Shown)

1шт.

3

27701135

Cab (Flow Control)

1шт.

4

27701136

Cab (Sensor/Switch Box)

1шт.

5

27701152

Chassis, Includes 6 & 7 (Not Shown)

1шт.

6

27701153

Chassis (Flow Control) Assy.

1шт.

7

27701134

Includes Ref 8 & 9

1шт.

8

27701137

DIODE

LED Assy.

1шт.

9

27701138

SENSOR

Assy.

1шт.

10

27701112

Radar

1шт.

11

27701103

SENSOR

Fan

1шт.

12

27701111

SENSOR

Motor RPM

1шт.

13

25205001

HYDRAULIC MOTOR

1шт.

14

25205002

CHECK VALVE

Hydraulic (Complete Block)

1шт.

15

25845003

CONTROL VALVE

Replacement Cartridge

1шт.

16

27701154

Divide By Four

1шт.

Выбрано товаров: 16