Качественные детали и логистика
Оригинальные и аналоговые запчасти с доставкой по России, Казахстану и Беларуси
©2022 PartSell ООО "Система" ИНН 2463123282 ОГРН 1212400004838
Центральный офис: г. Красноярск, Академика Киренского, д.87, пом.4
Телефон: 8 (800) 777-65-74 Email: zakaz@partsell.ru
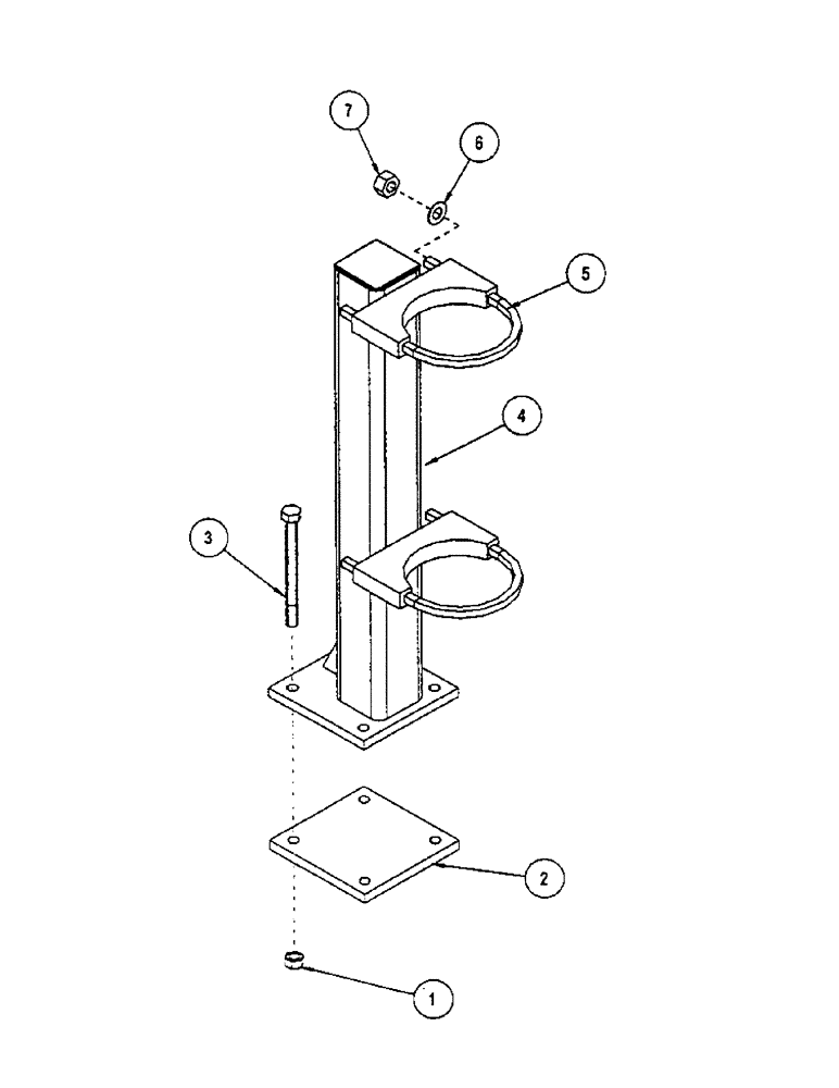
(B56) - PRIMARY MANIFOLD STAND, FRONT TOW
№
Артикул
Название
Примечание
Количество
1
231-1448
NUT,1/2"-13, GB
- nylock: .50 NC GR6 ZP
4шт.
2
1026854
LARGE PLATE
PLATE BOLTING
1шт.
3
1011669
BOLT
- hex: .50 x 6.00 NC GR5 ZP
4
290087A1
MANIFOLD
WLDMT - manifold stand
5
1033298
U-BOLT
BOLT UR .375 5.188W 3.657D
2шт.
6
280136
NUT,3/8"-16, G8
7
1011586
LOCK WASHER
- lock: .38 ZP
Выбрано товаров: 0