Запчасти Case IH AUSTOFT (A01[00A]) - MAIN FRAME

Схема запчастей Case IH AUSTOFT - (A01[00A]) - MAIN FRAME
2
6
5
10
11
1
8
3
4
6
13
9
7
7
12
FIT
1:1
100%

Артикул

Название

Примечание

Количество

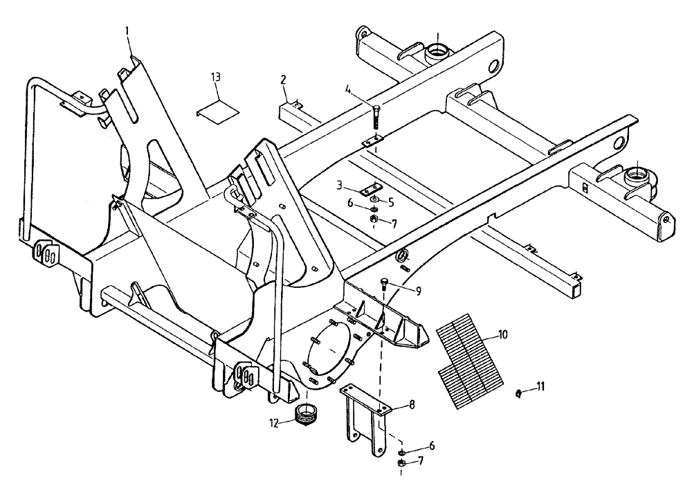
1

87240509

SPROCKET ASSY.

FRAME main

1шт.

2

42-06392

BAR support

1шт.

3

42-06637

PLATE

2шт.

4

FM112120

BOLT

4шт.

5

WA120000

WASHER

4шт.

6

WB120000

WASHER

8шт.

7

NA112000

NUT

8шт.

8

87240515

MOUNTING PARTS

ARM mount-swing

1шт.

9

FM112050

BOLT

4шт.

10

87239010

SCREEN

GUARD

2шт.

11

00606627

PIN

lynch

6шт.

12

42-06222

PLUG

1шт.

13

87238880

TANK lid-float

1шт.

Выбрано товаров: 13